- Partiron
- OEM Parts
- Honda
- MOTORCYCLE
- 1982
- CBXA (82) SUPER SPORT, JPN, VIN# JH2SC060-CC400001
FRONT FORK
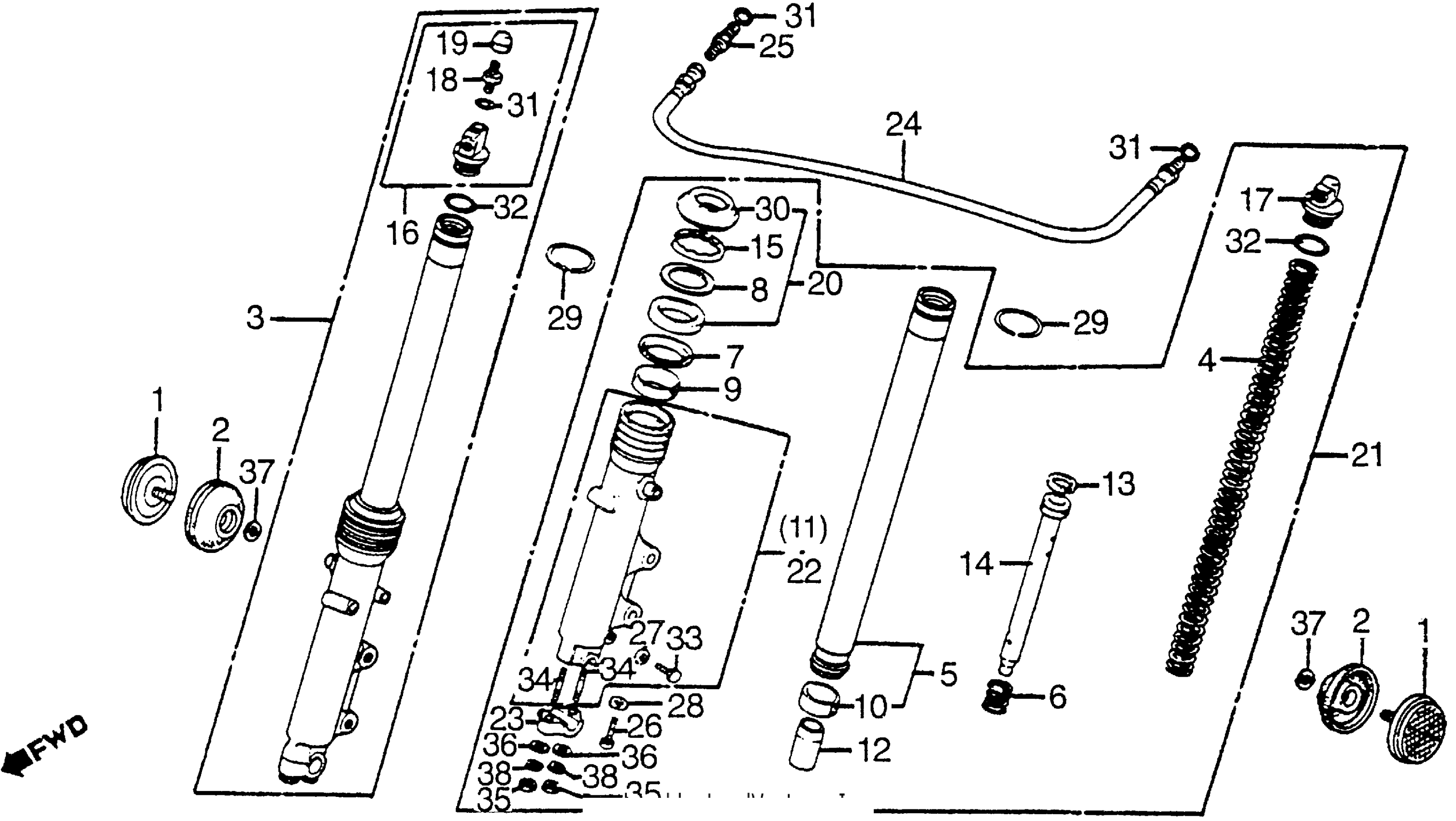
Honda CBXA (82) SUPER SPORT, JPN, VIN# JH2SC060-CC400001 FRONT FORK Diagram
#
Description
Price
2
BASE, FR. REFLECTOR
33743-425-600
Unavailable
3
FORK ASSY., R. FR. (NOT AVAILABLE)
51400-MA2-003
Unavailable
4
SPRING, FR. FORK (NOT AVAILABLE)
51401-MA2-003
Unavailable
5
PIPE, FR. FORK (NOT AVAILABLE)
51410-MA2-003
Unavailable
6
SPRING, FR. FORK REBOUND (NOT AVAILABLE)
51411-463-003
Unavailable
8
PLATE, BACK-UP
51413-463-003
Unavailable
11
CASE, R. (LOWER) (NOT AVAILABLE)
51421-438-671
Unavailable
12
PIECE, OIL LOCKING (NOT AVAILABLE)
51432-438-671
Unavailable
14
PIPE, SEAT (NOT AVAILABLE)
51440-MA2-003
Unavailable
16
BOLT ASSY., FR. FORK (SHOWA) (NOT AVAILABLE) This part replaces 51454-463-003.
51454-463-013
Unavailable
16
BOLT ASSY., FR. FORK (SHOWA) (NOT AVAILABLE)
51454-463-013
Unavailable
17
BOLT, L. FR. FORK (NOT AVAILABLE)
51456-463-003
Unavailable
19
CAP ASSY., AIR VALVE
51457-469-000
Unavailable
21
FORK ASSY., L. FR. (NOT AVAILABLE)
51500-MA2-003
Unavailable
22
CASE, L. (LOWER) (NOT AVAILABLE)
51521-438-671
Unavailable
23
HOLDER 1B, FR. FORK AXLE (NOT AVAILABLE) This part replaces 51634-410-003.
95014-41100
Unavailable
24
HOSE, FR. FORK JOINT (NOT AVAILABLE)
53137-MA2-003
Unavailable
25
CONNECTOR
53139-463-000
Unavailable
29
RING, SNAP (NOT AVAILABLE)
90601-MA3-000
Unavailable
