Partiron

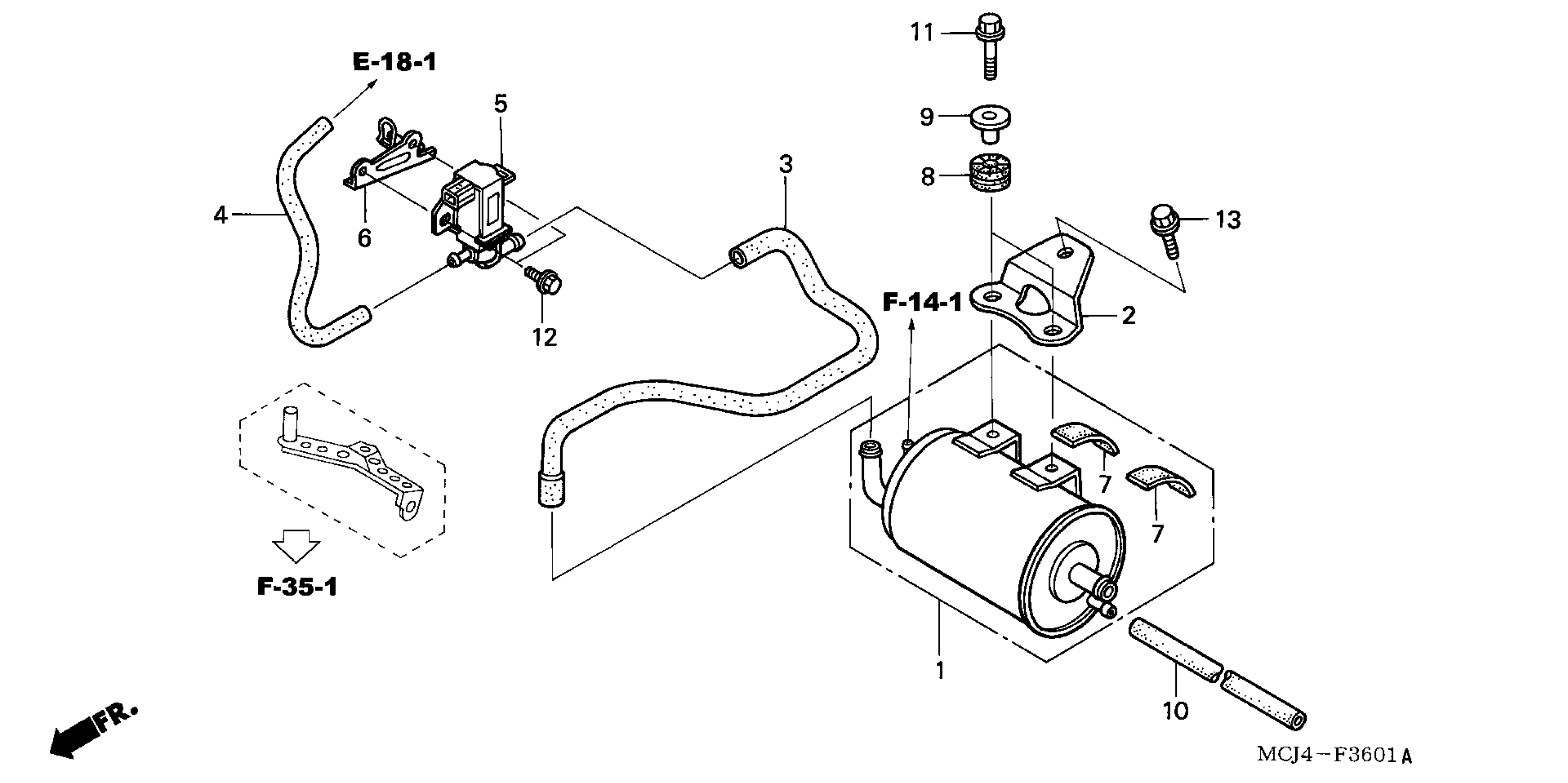
Honda CBR900RRAC (03) CBR954RR, JPN, VIN# JH2SC501-3M100001 CANISTER (2) Diagram

#

Description
Price

1

CANISTER

17410-MCJ-L00

Unavailable

2

STAY, CANISTER

17411-MCJ-L00

Unavailable

3

TUBE (PCS-CANISTER)

17412-MCJ-L00

Unavailable

4

TUBE (PCS-5WAY)

17413-MCJ-L00

Unavailable

5

VALVE ASSY., PURGE CONTROL SOLENOID

36162-P2M-A01

$365.90

6

STAY, P.C.S.

36165-MCJ-L00

Unavailable

7

RUBBER, FR. FENDER

61102-MZ1-300

$1.49

8

RUBBER, TAILLIGHT MOUNTING

84703-425-000

$4.72

9

COLLAR (6.2X12)

90501-425-000

$4.69

10

BULK HOSE, VACUUM (4.5X1000) (4.5X500)

95005-45001-20M

$34.14

11

BOLT, FLANGE (6X22)

96001-06022-00

$1.49

12

BOLT, FLANGE (6X12)

96300-06012-07

$1.49

13

BOLT, FLANGE (8X14)

96300-08014-00

$1.80