- Partiron
- OEM Parts
- Honda
- MOTORCYCLE
- 2020
- CBR650RA2AC (20) MOTORCYCLE, THA, VIN# MLHRH015-L5100001
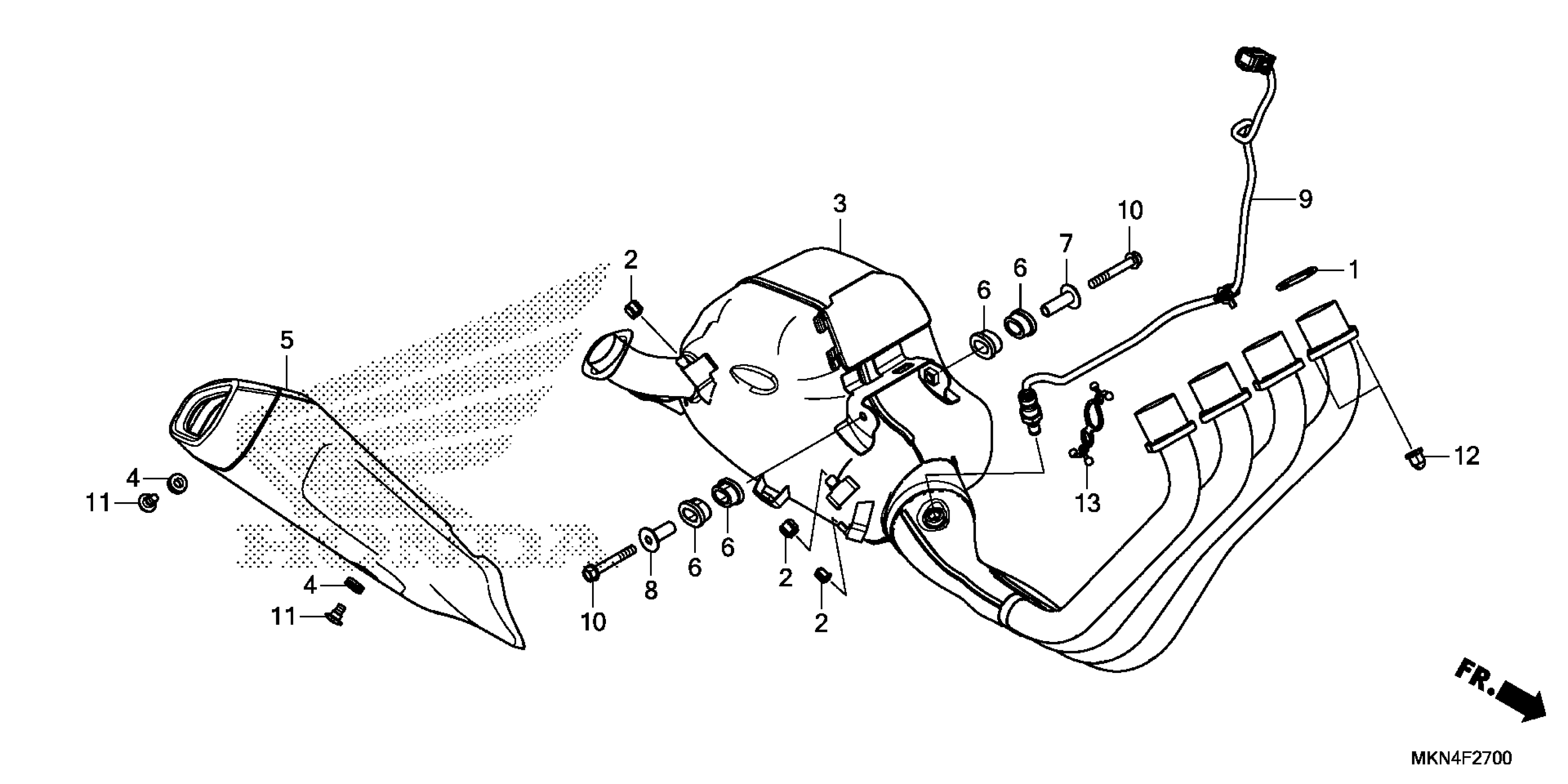
MUFFLER
Honda CBR650RA2AC (20) MOTORCYCLE, THA, VIN# MLHRH015-L5100001 MUFFLER Diagram
#
Description
Price
MUFFLER
#
Edit ride
