Partiron

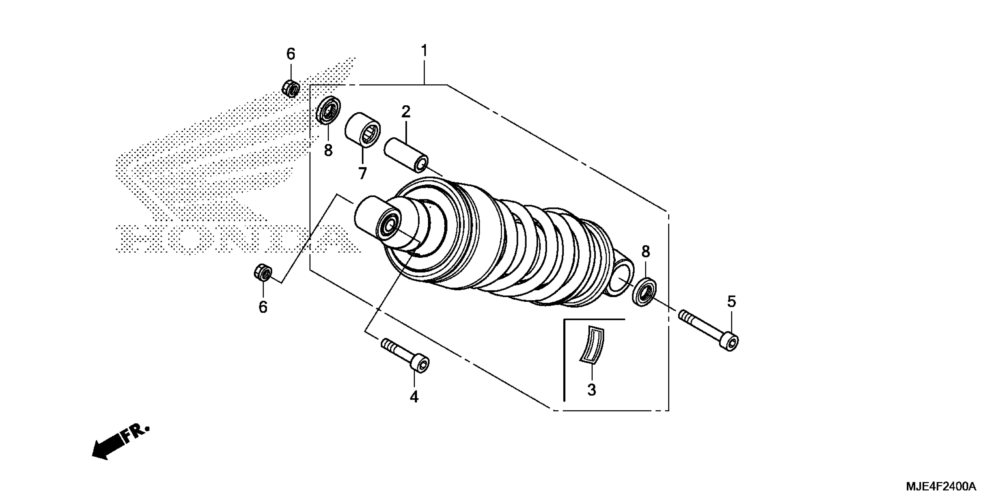
Honda CBR650FAAC (15) MOTORCYCLE, THA, VIN# MLHRC745-F5100001 TO MLHRC745-F5199999 REAR SHOCK ABSORBER Diagram

#

Description
Price

1

CUSHION ASSY., RR. (COO) (SHOWA)

52400-MJE-305

$1,143.31

2

COLLAR, CUSHION CONNECTING ROD

52463-MGZ-J00

$5.33

3

LABEL, RR. DAMPER

87516-MBL-610

$4.31

4

BOLT, SOCKET (10X51)

90107-MJE-D00

$3.62

5

BOLT, SOCKET (10X70)

90108-MJE-D00

$4.56

6

NUT, U FLANGE (10MM)

90304-MJE-D01

$2.21

7

BEARING, NEEDLE (KOYO)

91071-KV3-005

$24.88

8

DUST SEAL (17X24X5) (ARAI)

91262-KV3-831

$6.21