- Partiron
- OEM Parts
- Honda
- MOTORCYCLE
- 2014
- CBR600RRA (14) MOTORCYCLE, JPN, VIN# JH2PC400-EK700001 TO JH2PC400-EK799999
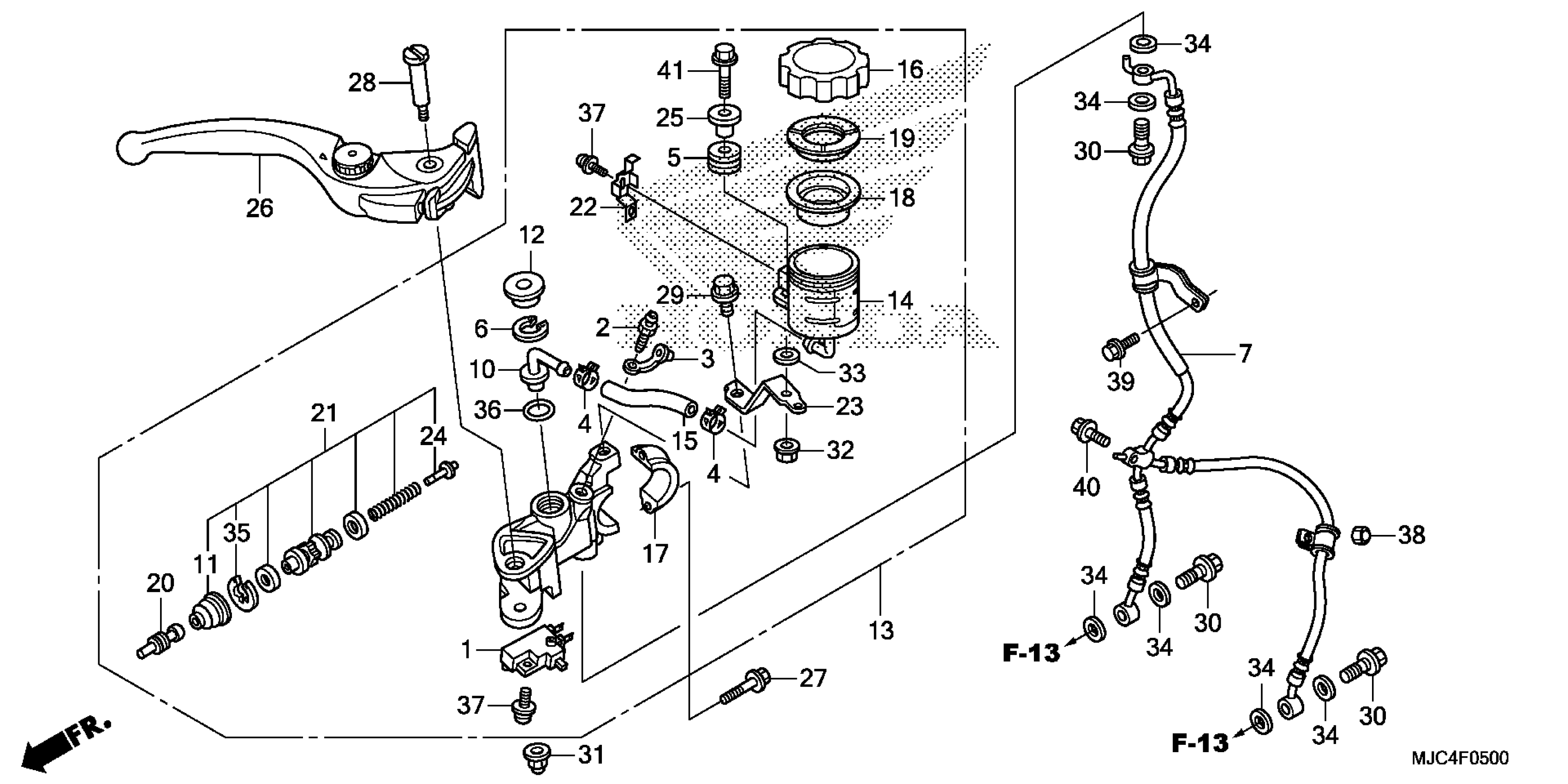
FRONT BRAKE MASTER CYLINDER (CBR600RR)
Honda CBR600RRA (14) MOTORCYCLE, JPN, VIN# JH2PC400-EK700001 TO JH2PC400-EK799999 FRONT BRAKE MASTER CYLINDER (CBR600RR) Diagram
#
Description
Price
