- Partiron
- OEM Parts
- Honda
- MOTORCYCLE
- 2026
- CBR600RR7AC (26) MOTORCYCLE, JPN, VIN# JH2PC40H-TK300001 TO JH2PC40H-TK399999
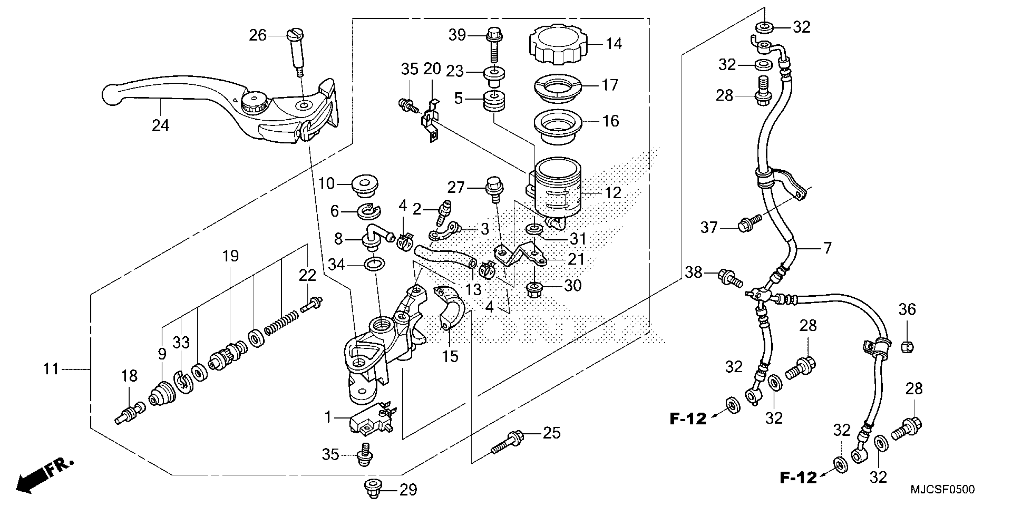
FRONT BRAKE MASTER CYLINDER (1)
Honda CBR600RR7AC (26) MOTORCYCLE, JPN, VIN# JH2PC40H-TK300001 TO JH2PC40H-TK399999 FRONT BRAKE MASTER CYLINDER (1) Diagram
#
Description
Price
