- Partiron
- OEM Parts
- Honda
- MOTORCYCLE
- 2012
- CBR600RR2A (12) MOTORCYCLE, JPN, VIN# JH2PC404-CK500001
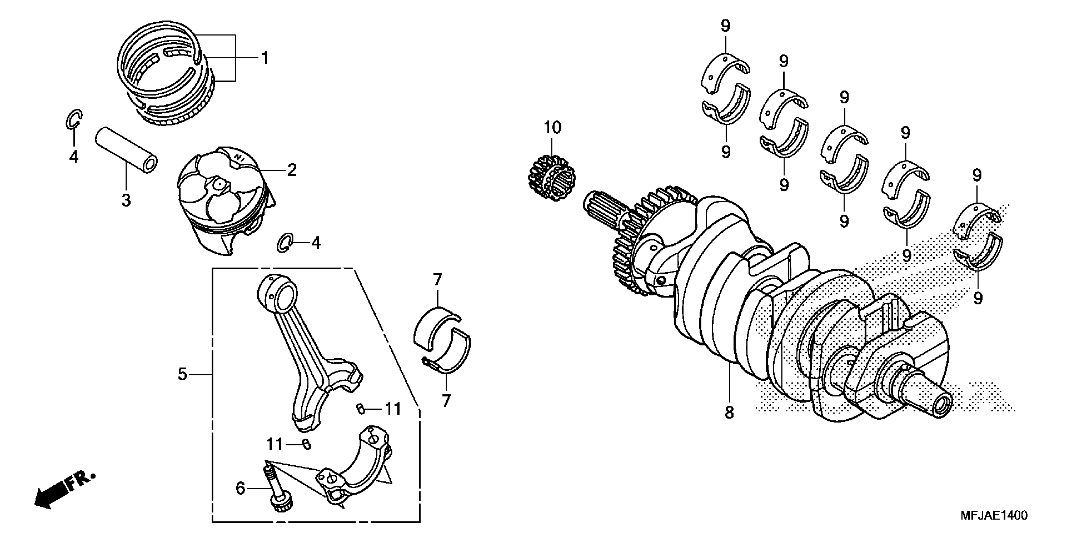
CRANKSHAFT + PISTON
Honda CBR600RR2A (12) MOTORCYCLE, JPN, VIN# JH2PC404-CK500001 CRANKSHAFT + PISTON Diagram
#
Description
Price
CRANKSHAFT + PISTON
#
Edit ride
