- Partiron
- OEM Parts
- Honda
- MOTORCYCLE
- 2011
- CBR600RAAC (11) MOTORCYCLE, JPN, VIN# JH2PC408-BK400001
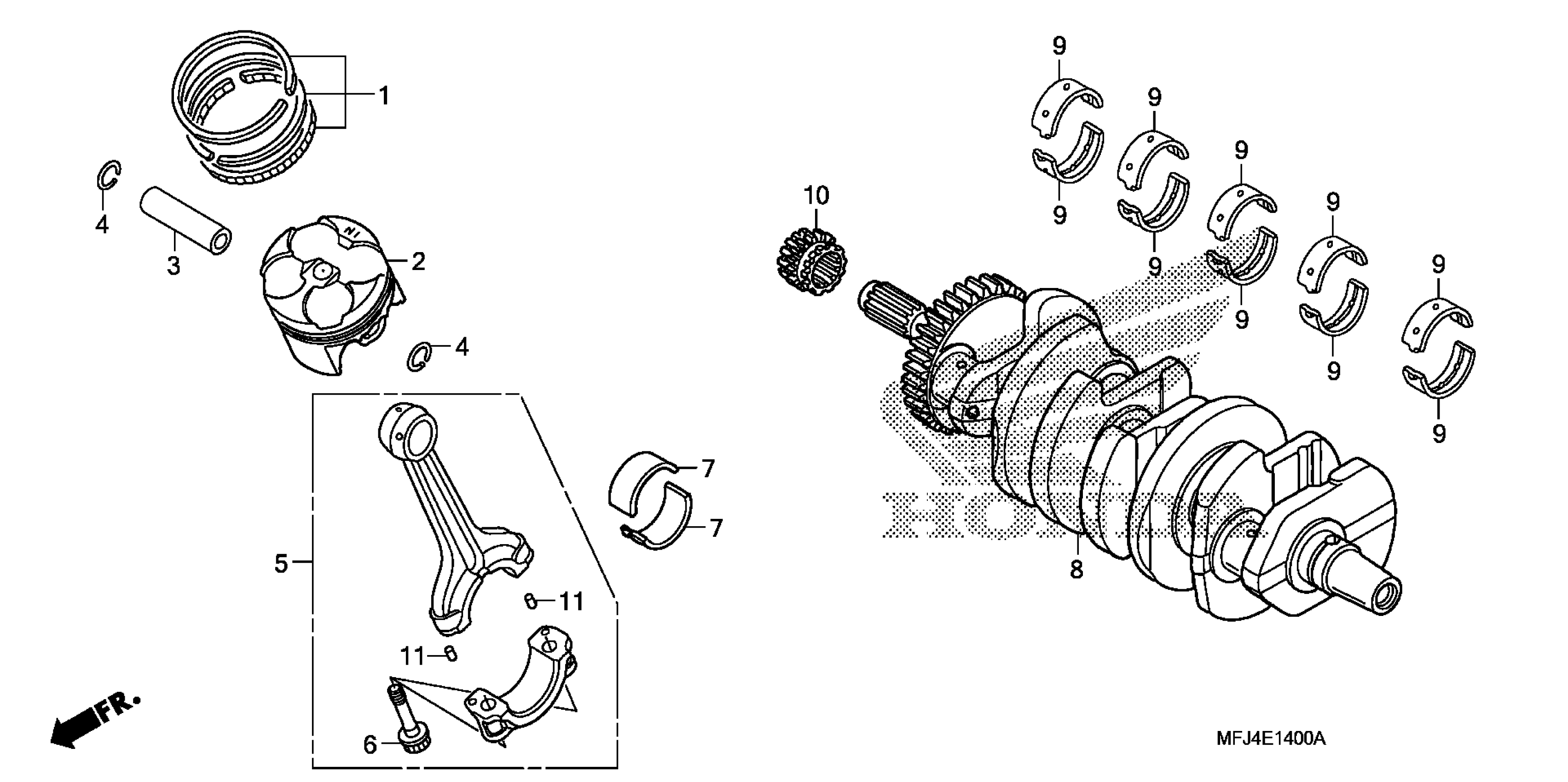
CRANKSHAFT + PISTON
Honda CBR600RAAC (11) MOTORCYCLE, JPN, VIN# JH2PC408-BK400001 CRANKSHAFT + PISTON Diagram
#
Description
Price
8
CRANKSHAFT | Use up to Engine SN 2212146 This part replaces 13310-MFJ-D00.
13310-MFJ-D01
$1,028.44
