- Partiron
- OEM Parts
- Honda
- MOTORCYCLE
- 2020
- CBR600RA7AC (20) MOTORCYCLE, JPN, VIN# JH2PC408-LK400001 TO JH2PC408-LK499999
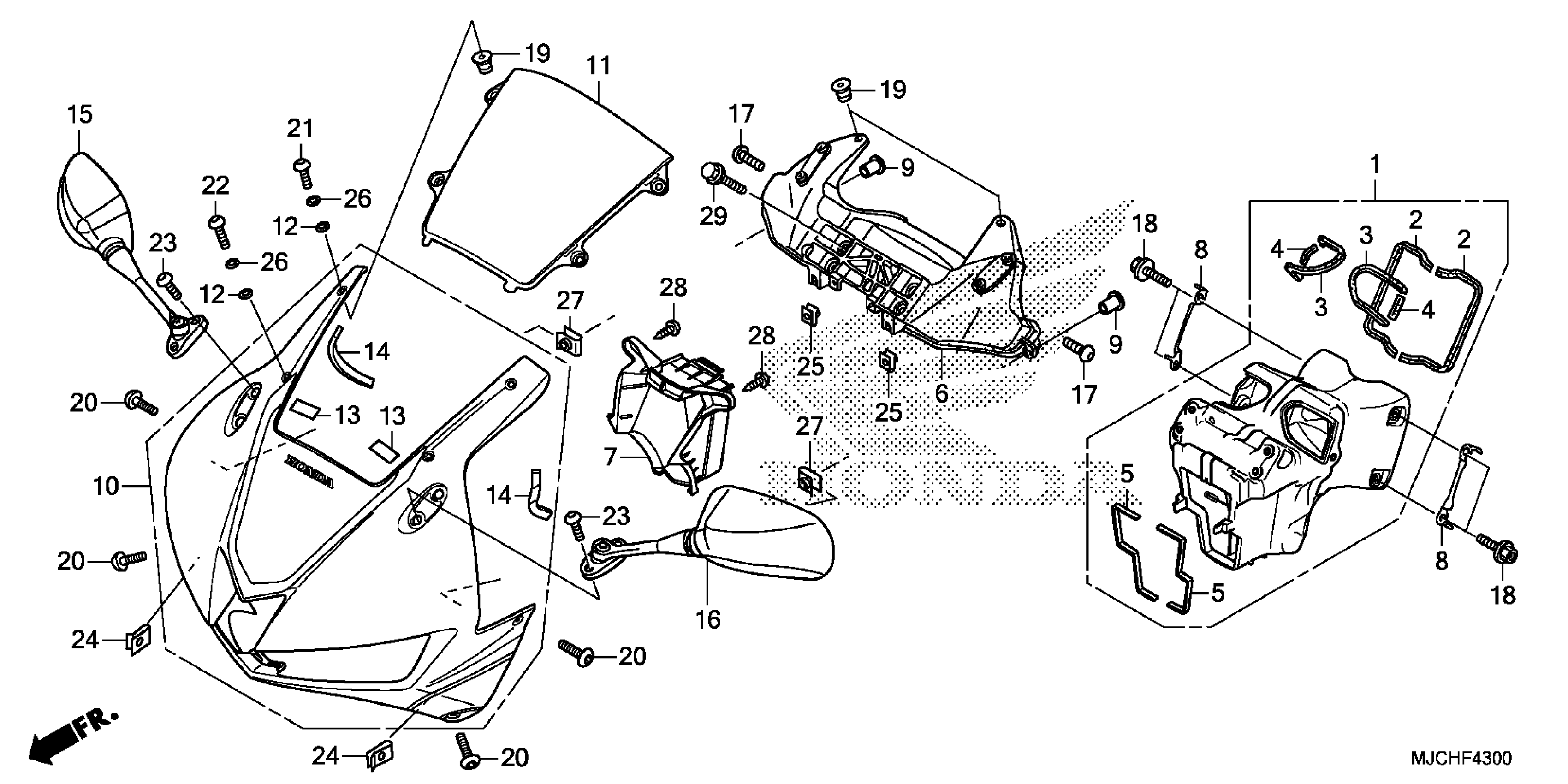
UPPER COWL@MIRROR
Honda CBR600RA7AC (20) MOTORCYCLE, JPN, VIN# JH2PC408-LK400001 TO JH2PC408-LK499999 UPPER COWL@MIRROR Diagram
#
Description
Price
