- Partiron
- OEM Parts
- Honda
- MOTORCYCLE
- 1987
- CBR600FA (87) HURRICANE 600, JPN, VIN# JH2PC190-HM000014 TO JH2PC190-HM008281
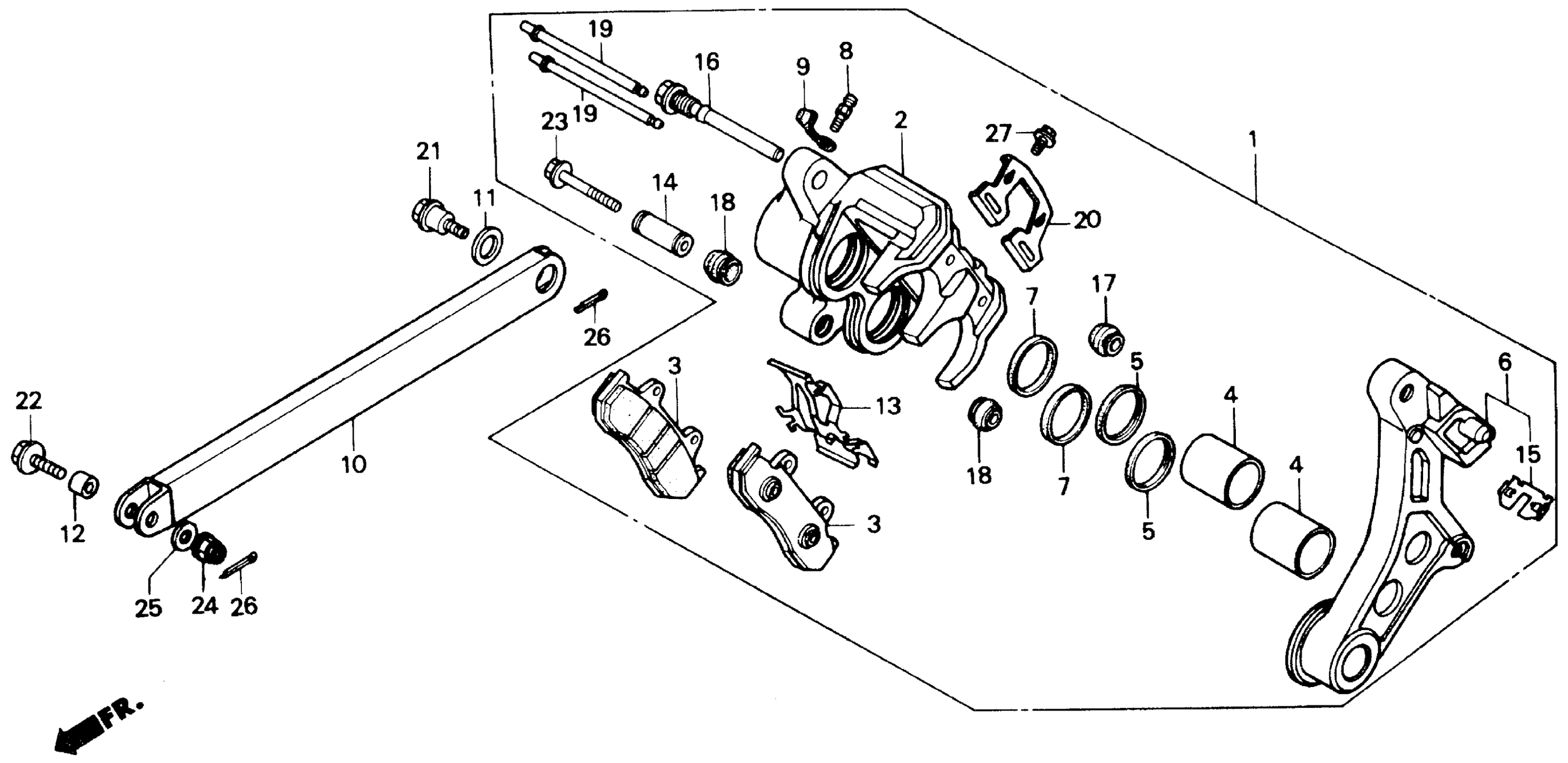
REAR BRAKE CALIPER
Honda CBR600FA (87) HURRICANE 600, JPN, VIN# JH2PC190-HM000014 TO JH2PC190-HM008281 REAR BRAKE CALIPER Diagram
#
Description
Price
NI
PAD SET, BRAKE This part replaces 431A0-ML7-007.
06435-ML7-415
Unavailable
1
CALIPER ASSY., RR. This part replaces 43100-MN4-007.
43100-MN4-027
Unavailable
2
CALIPER, RR. (NISSIN) (NOT AVAILABLE)
43101-KT8-006
Unavailable
3
PAD, RR. (NISSIN) This part replaces 43105-ML7-007.
43105-ML7-037
Unavailable
6
BRACKET, RR. (NISSIN) (SOURCE: VINTAGE PARTS INC.) This part replaces 43110-KT8-006.
43110-MN4-831
Unavailable
6
BRACKET, RR. (NISSIN) (SOURCE: VINTAGE PARTS INC.)
43110-MN4-831
Unavailable
10
LINK, TORQUE (NOT AVAILABLE)
43431-MN4-000
Unavailable
11
WASHER, TORQUE LINK (NOT AVAILABLE)
43434-MA3-640
Unavailable
21
BOLT, TORQUE LINK (NOT AVAILABLE)
90124-ML7-000
Unavailable
22
BOLT, RR. BRAKE STOPPER ARM (NOT AVAILABLE)
90124-392-000
Unavailable
