- Partiron
- OEM Parts
- Honda
- MOTORCYCLE
- 2011
- CBR1000RR4A (11) MOTORCYCLE, JPN, VIN# JH2SC59J-BK300001
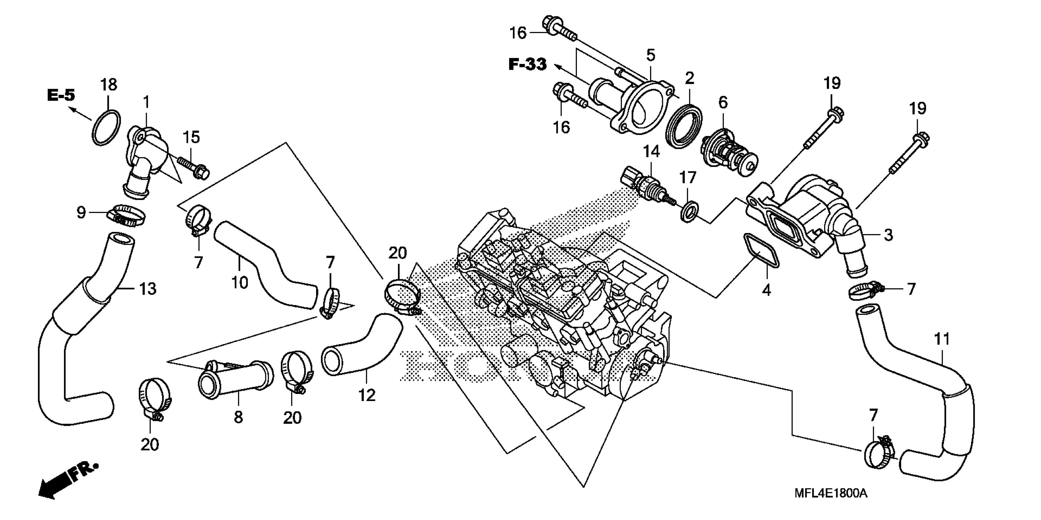
THERMOSTAT
Honda CBR1000RR4A (11) MOTORCYCLE, JPN, VIN# JH2SC59J-BK300001 THERMOSTAT Diagram
#
Description
Price
THERMOSTAT
#
Edit ride
