- Partiron
- OEM Parts
- Honda
- MOTORCYCLE
- 2011
- CBR1000RAAC (11) MOTORCYCLE, JPN, VIN# JH2SC598-BK200001
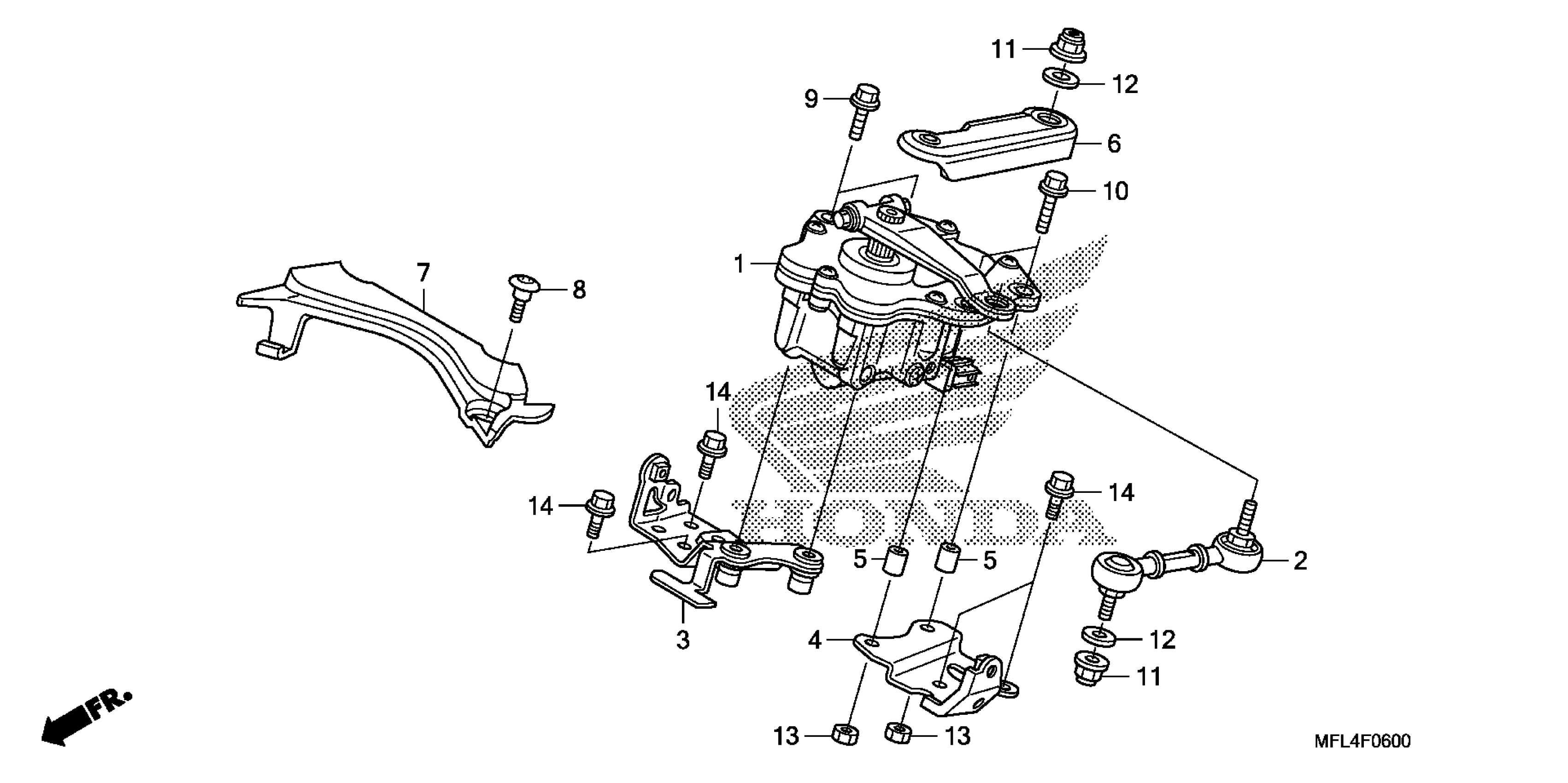
STEERING DAMPER
Honda CBR1000RAAC (11) MOTORCYCLE, JPN, VIN# JH2SC598-BK200001 STEERING DAMPER Diagram
#
Description
Price
STEERING DAMPER
#
Edit ride
