- Partiron
- OEM Parts
- Honda
- MOTORCYCLE
- 2011
- CBR1000RAAC (11) MOTORCYCLE, JPN, VIN# JH2SC598-BK200001
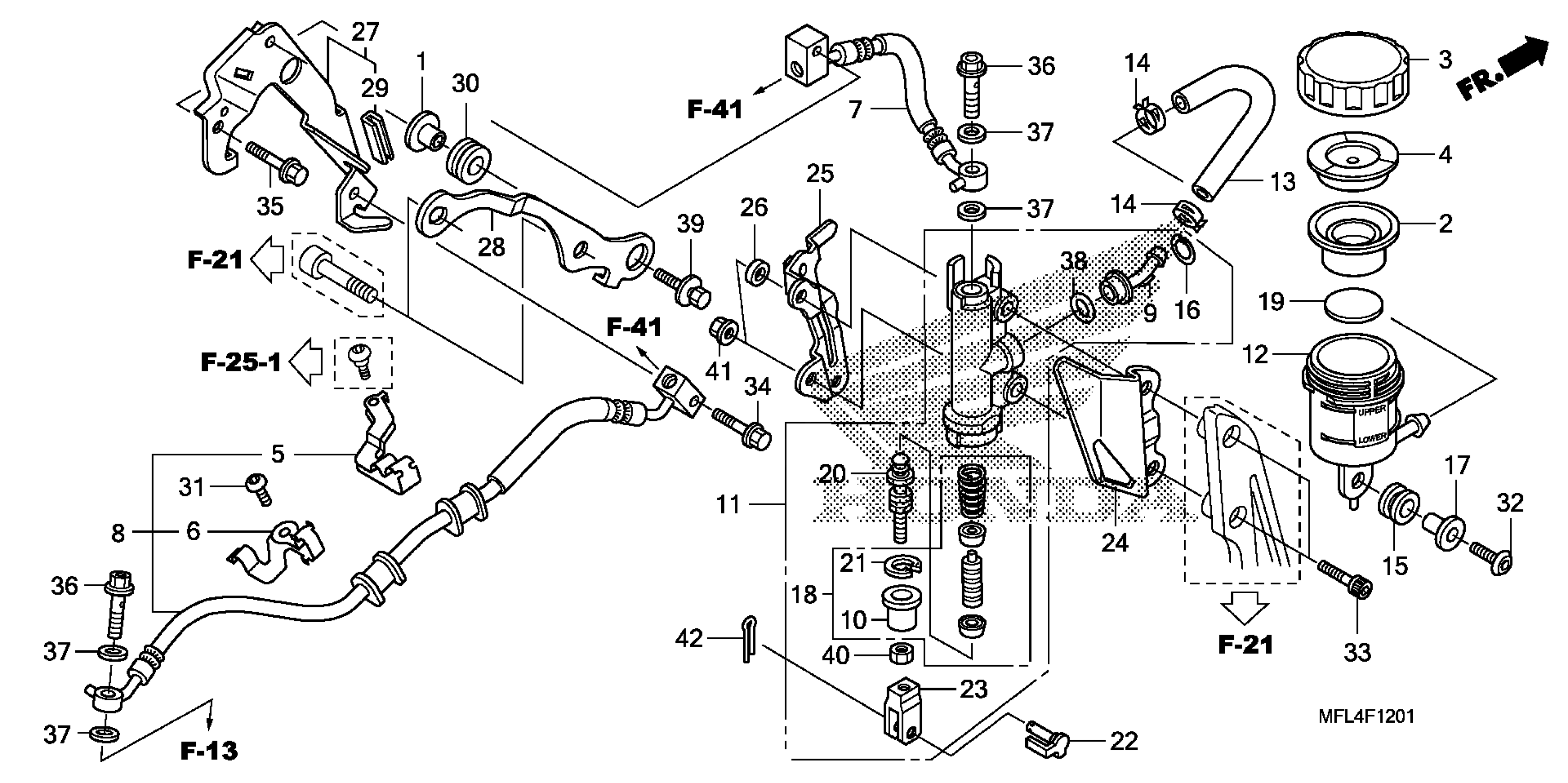
REAR BRAKE MASTER CYLINDER (CBR1000RA)
Honda CBR1000RAAC (11) MOTORCYCLE, JPN, VIN# JH2SC598-BK200001 REAR BRAKE MASTER CYLINDER (CBR1000RA) Diagram
#
Description
Price
11
MASTER CYLINDER SUB-ASSY., RR. (COO) (NISSIN) This part replaces 43510-MFL-006.
43510-MFL-305
$185.05
