- Partiron
- OEM Parts
- Honda
- MOTORCYCLE
- 2023
- CBR1000RA2AC (23) MOTORCYCLE, JPN, VIN# JH2SC775-PK600001 TO JH2SC775-PK699999
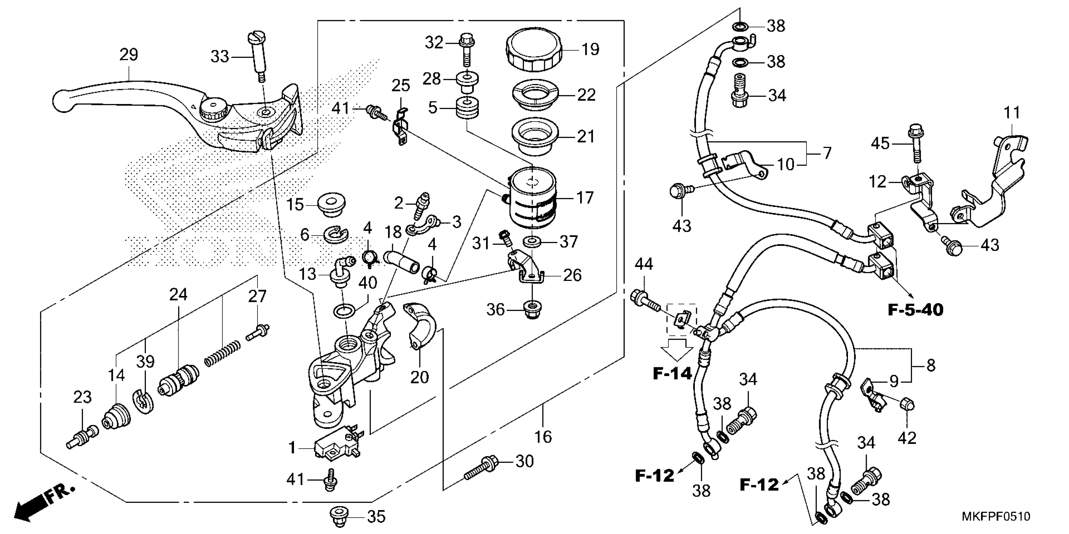
FRONT BRAKE MASTER CYLINDER (2)
Honda CBR1000RA2AC (23) MOTORCYCLE, JPN, VIN# JH2SC775-PK600001 TO JH2SC775-PK699999 FRONT BRAKE MASTER CYLINDER (2) Diagram
#
Description
Price
