- Partiron
- OEM Parts
- Honda
- MOTORCYCLE
- 1988
- CBR1000FA (88) HURRICANE 1000, USA, VIN# 1HFSC210-JA100001 TO 1HFSC210-JA100480
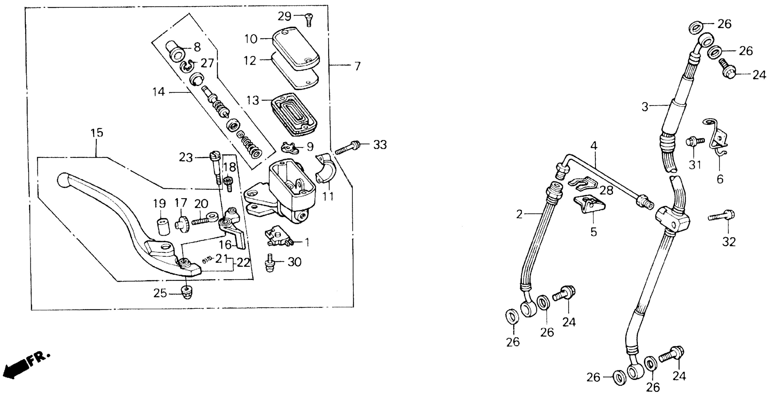
FRONT BRAKE MASTER CYLINDER
Honda CBR1000FA (88) HURRICANE 1000, USA, VIN# 1HFSC210-JA100001 TO 1HFSC210-JA100480 FRONT BRAKE MASTER CYLINDER Diagram
#
Description
Price
2
HOSE, R. FR. BRAKE This part replaces 45124-MM5-003.
45124-MS2-871
Unavailable
2
HOSE, R. FR. BRAKE
45124-MS2-871
Unavailable
3
HOSE, FR. BRAKE (NOT AVAILABLE) This part replaces 45125-MM5-771.
45125-MM5-003
Unavailable
4
PIPE, FR. BRAKE (LOWER)
45127-MM5-000
Unavailable
5
STAY B, BRAKE HOSE
45157-MM5-000
Unavailable
6
GUIDE, R. CABLE
45158-MM5-000
Unavailable
7
MASTER CYLINDER ASSY., FR. (NISSIN) (NOT AVAILABLE)
45500-MM5-016
Unavailable
17
ADJUSTER, R. HANDLEBAR
53172-KV0-006
Unavailable
18
BOLT, LEVER SOCKET (5X5)
53177-KV0-006
Unavailable
19
JOINT, LEVER
53179-KV0-006
Unavailable
20
BOLT, ADJUSTING
53180-KV0-006
Unavailable
22
LEVER SET, R. HANDLE
53185-KV0-006
Unavailable
