- Partiron
- OEM Parts
- Honda
- MOTORCYCLE
- 1987
- CBR1000FA (87) 1000 HURRICANE, USA, VIN# 1HFSC210-HA001001 TO 1HFSC210-HA004655
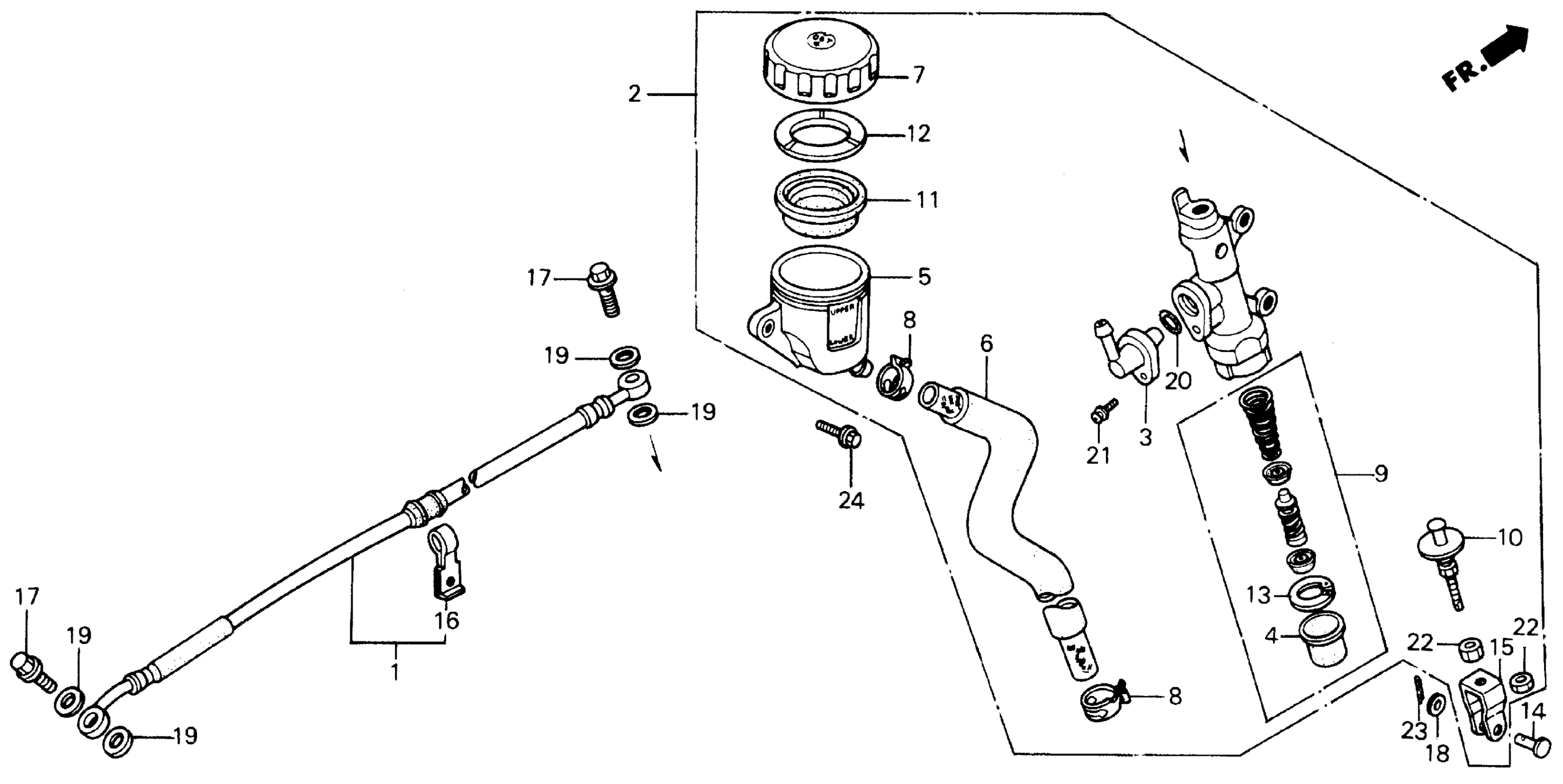
REAR BRAKE MASTER CYLINDER
Honda CBR1000FA (87) 1000 HURRICANE, USA, VIN# 1HFSC210-HA001001 TO 1HFSC210-HA004655 REAR BRAKE MASTER CYLINDER Diagram
#
Description
Price
1
HOSE, RR. BRAKE (NICHIRIN) This part replaces 43310-MM5-013.
43310-MM5-023
Unavailable
1
HOSE, RR. BRAKE (NICHIRIN)
43310-MM5-023
Unavailable
2
MASTER CYLINDER ASSY., RR. BRAKE
43500-MM5-006
Unavailable
6
HOSE, MASTER CYLINDER (NOT AVAILABLE)
43512-ML7-000
Unavailable
7
CAP, OIL CUP
43513-MB4-672
Unavailable
14
PIN, BRAKE ROD
46503-371-000
Unavailable
15
JOINT, BRAKE ROD
46504-MB2-006
Unavailable
16
CLAMP, RR. BRAKE HOSE
52116-KV3-000
Unavailable
