- Partiron
- OEM Parts
- Honda
- MOTORCYCLE
- 2019
- CBF300NAC (19) MOTORCYCLE, THA, VIN# MLHNC550-K5000001 TO MLHNC550-K5099999
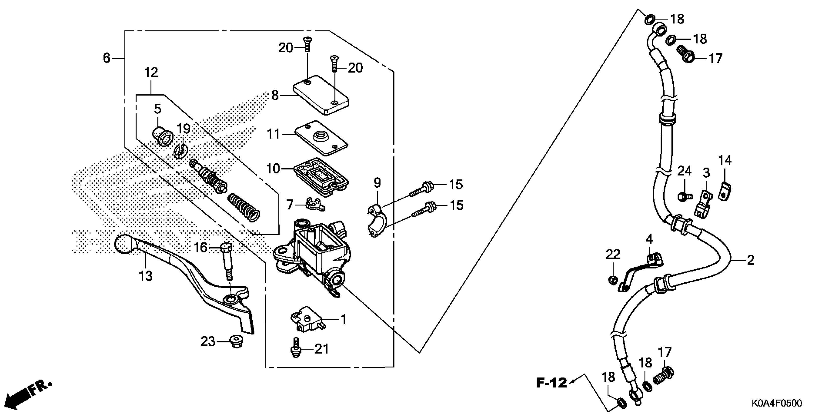
FRONT BRAKE MASTER CYLINDER (1)
Honda CBF300NAC (19) MOTORCYCLE, THA, VIN# MLHNC550-K5000001 TO MLHNC550-K5099999 FRONT BRAKE MASTER CYLINDER (1) Diagram
#
Description
Price
6
MASTER CYLINDER SUB-ASSY., FR. BRAKE (COO) (NISSIN) This part replaces 45510-K26-901.
45510-K26-305
$112.68
