- Partiron
- OEM Parts
- Honda
- MOTORCYCLE
- 1982
- CB900FA (82) 900 SUPER SPORT, JPN, VIN# JH2SC010-CM100003 TO JH2SC010-CM109271
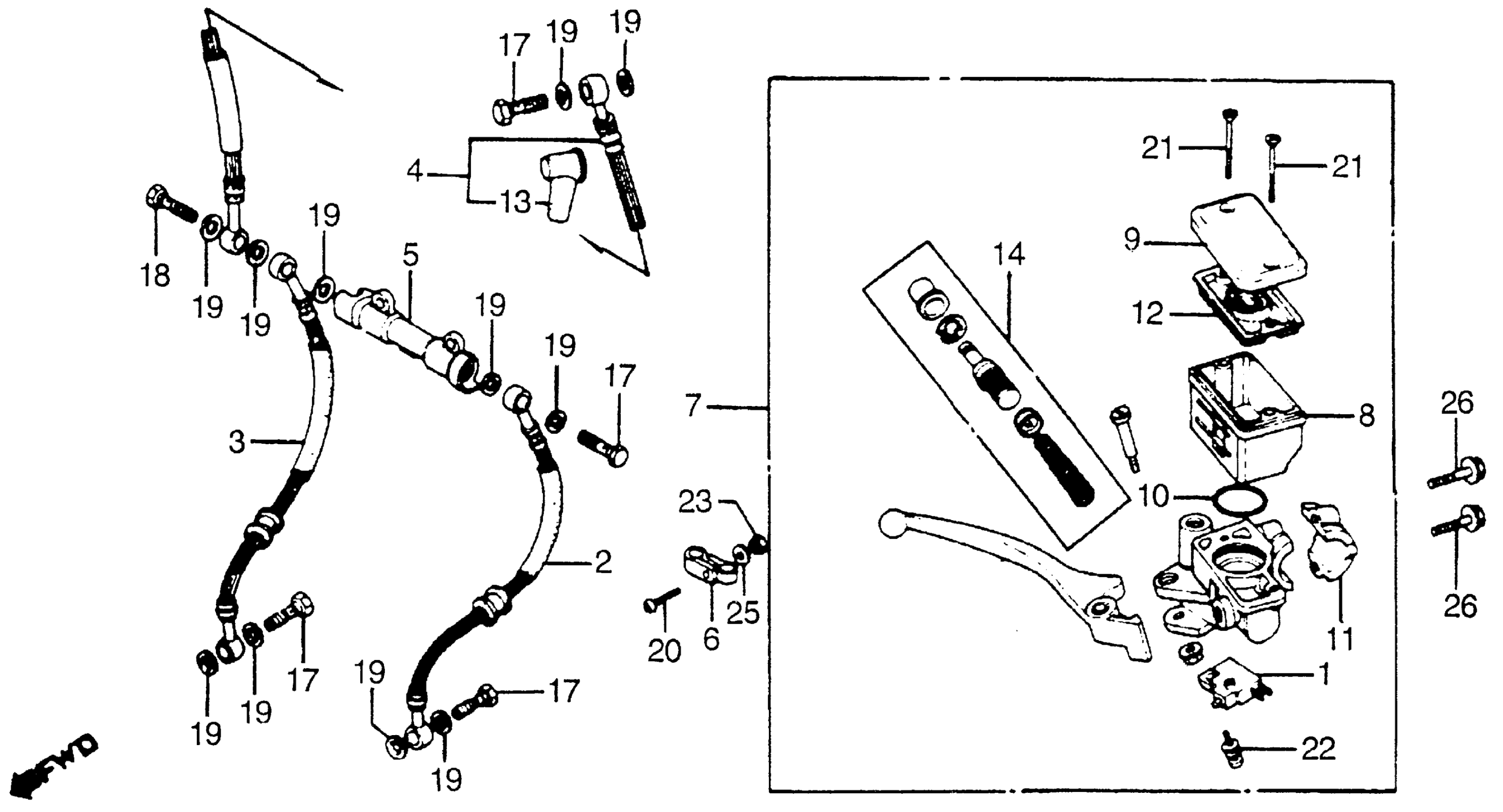
FRONT BRAKE MASTER + CYLINDER
Honda CB900FA (82) 900 SUPER SPORT, JPN, VIN# JH2SC010-CM100003 TO JH2SC010-CM109271 FRONT BRAKE MASTER + CYLINDER Diagram
#
Description
Price
2
HOSE, L. FR. BRAKE This part replaces 45124-438-671.
45124-438-672
Unavailable
3
HOSE, R. FR. BRAKE This part replaces 45125-438-671.
45125-438-672
Unavailable
4
HOSE B, FR. BRAKE (NOT AVAILABLE) This part replaces 45126-425-831.
45126-425-832
Unavailable
4
HOSE B, FR. BRAKE (NOT AVAILABLE)
45126-425-832
Unavailable
5
JOINT, TWO-WAY
45127-422-003
Unavailable
6
CLAMP, BRAKE HOSE (NOT AVAILABLE)
45128-463-000
Unavailable
7
MASTER CYLINDER ASSY., FR. (NA USE ALT:45510-445-406)
45500-445-632
Unavailable
9
CAP, OIL CUP
45513-MA5-671
Unavailable
15
LEVER, R. HANDLEBAR
53175-MA5-671
Unavailable
18
BOLT, OIL This part replaces 90145-422-010.
90145-422-020
Unavailable
