- Partiron
- OEM Parts
- Honda
- MOTORCYCLE
- 2007
- CB900FA (07) 919, JPN, VIN# JH2SC480-7M500001
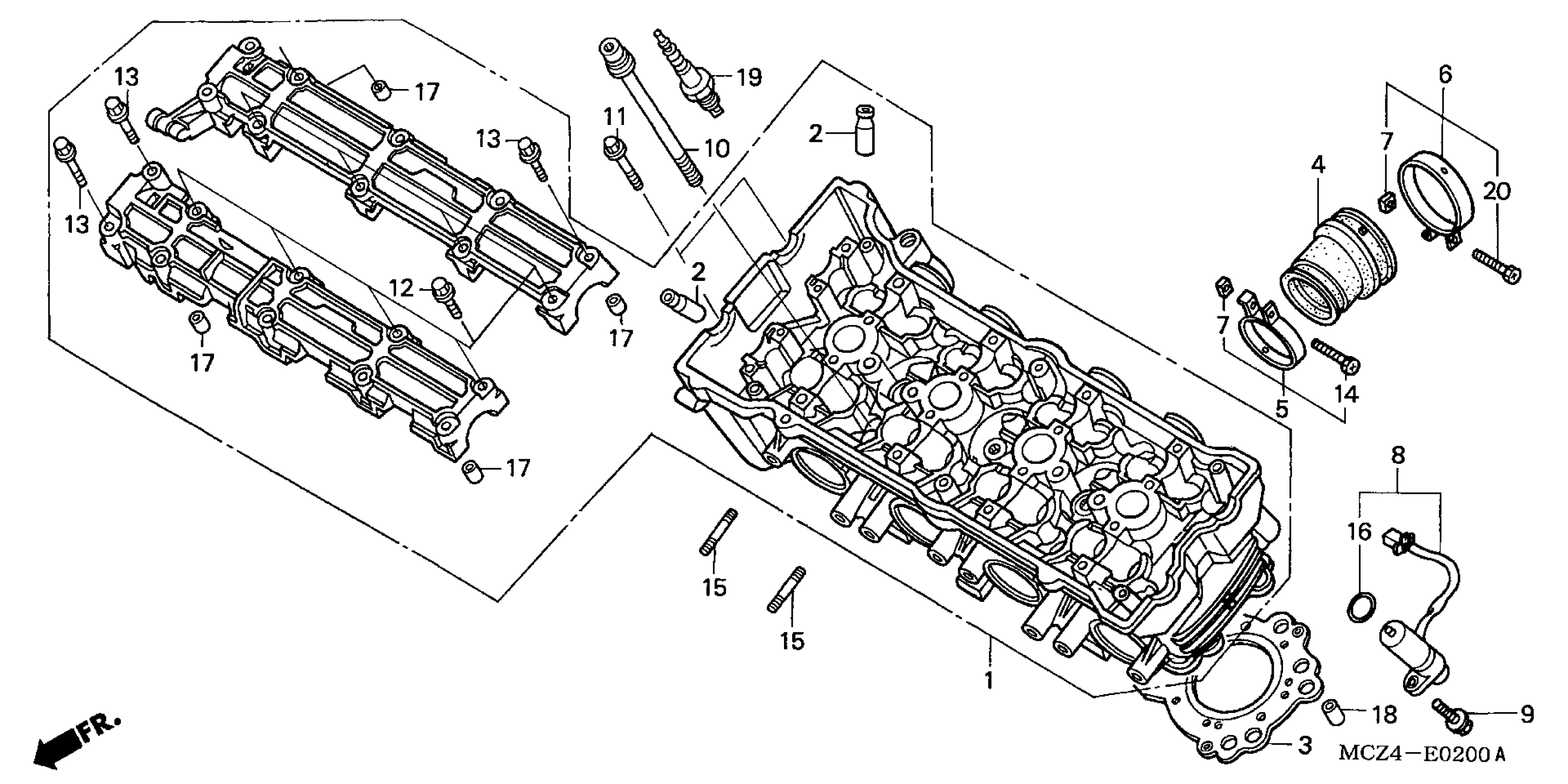
CYLINDER HEAD
Honda CB900FA (07) 919, JPN, VIN# JH2SC480-7M500001 CYLINDER HEAD Diagram
#
Description
Price
2
GUIDE, VALVE (OVER SIZE)
12204-MW0-305
Unavailable
8
PULSER ASSY., CAM
36140-MCZ-003
Unavailable
