- Partiron
- OEM Parts
- Honda
- MOTORCYCLE
- 1982
- CB900CA (82) 900 CUSTOM, USA, VIN# 1HFSC040-CA200101 TO 1HFSC040-CA214339
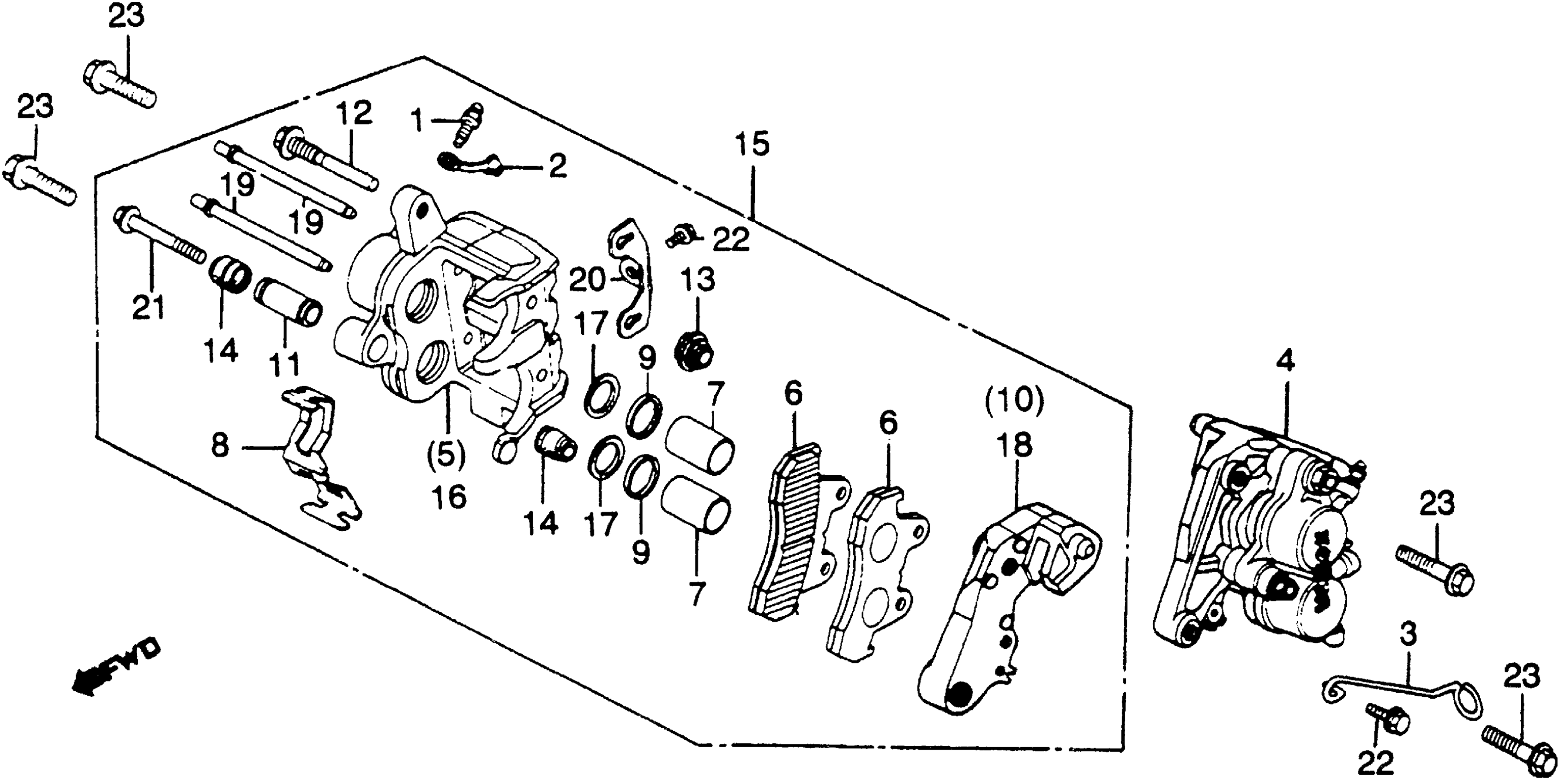
FRONT BRAKE CALIPER 82
Honda CB900CA (82) 900 CUSTOM, USA, VIN# 1HFSC040-CA200101 TO 1HFSC040-CA214339 FRONT BRAKE CALIPER 82 Diagram
#
Description
Price
3
CLAMP, SPEEDOMETER CABLE (NOT AVAILABLE)
44832-MA3-000
Unavailable
4
CALIPER ASSY., L. FR. (NOT AVAILABLE)
45100-461-751
Unavailable
4
CALIPER ASSY., L. FR. (NOT AVAILABLE)
45100-461-752
Unavailable
5
CALIPER, L.
45101-MA3-006
Unavailable
10
BRACKET, L. FR. (NOT AVAILABLE)
45110-MA5-006
Unavailable
15
CALIPER ASSY., R. FR. (JB) (NISSHIN) (NOT AVAILABLE)
45200-461-751
Unavailable
15
CALIPER, R. FR. This part replaces 45200-461-752.
45200-461-405
Unavailable
16
CALIPER, R. (NOT AVAILABLE)
45201-MA3-006
Unavailable
18
BRACKET, R. FR. (NOT AVAILABLE)
45210-MA5-006
Unavailable
