- Partiron
- OEM Parts
- Honda
- MOTORCYCLE
- Models With No Year
- CB750K3A MOTORCYCLE, JPN, VIN# CB750-2200001
STEERING STEM
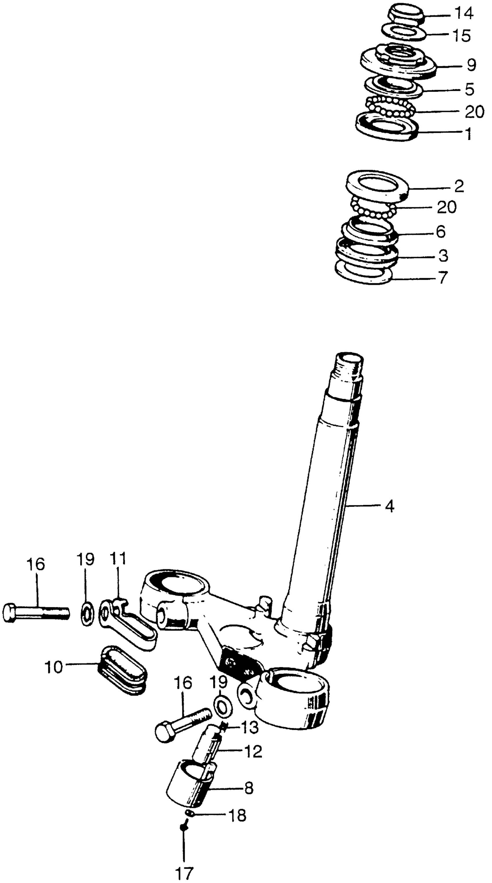
Honda CB750K3A MOTORCYCLE, JPN, VIN# CB750-2200001 STEERING STEM Diagram
#
Description
Price
4
STEM, STEERING *NH1* (BLACK) (NOT AVAILABLE)
53200-300-030B
Unavailable
8
COVER, HANDLEBAR LOCK CASE (NOT AVAILABLE)
53215-317-000
Unavailable
9
THREAD, STEERING HEAD (UPPER)
53220-286-000
Unavailable
10
GUIDE, CABLE (INNER) (NOT AVAILABLE)
53225-333-000
Unavailable
11
BRACKET, CABLE GUIDE (NOT AVAILABLE)
53226-341-700
Unavailable
12
LOCK, HANDLEBAR
35010-230-010
Unavailable
12
LOCK, HANDLEBAR This part replaces 53600-230-000.
35010-230-010
Unavailable
13
SPRING, HANDLEBAR LOCK (NOT AVAILABLE)
53631-268-020
Unavailable
