- Partiron
- OEM Parts
- Honda
- MOTORCYCLE
- Models With No Year
- CB750FA MOTORCYCLE, JPN, VIN# CB750F-1000002 TO CB750F-1015054
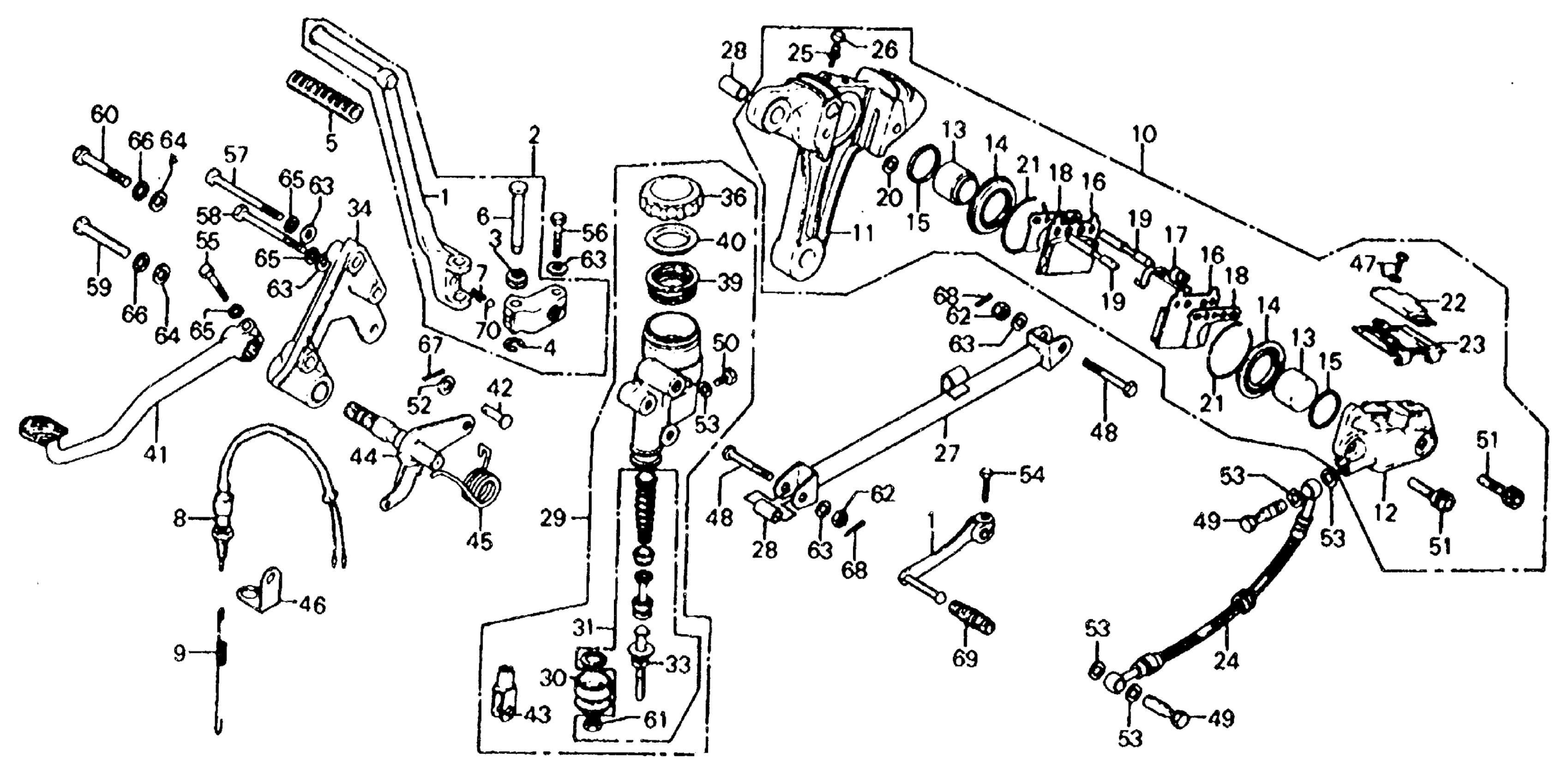
REAR MASTER CYLINDER + REAR BRAKE CALIPER + GEARSHIFT PEDAL
Honda CB750FA MOTORCYCLE, JPN, VIN# CB750F-1000002 TO CB750F-1015054 REAR MASTER CYLINDER + REAR BRAKE CALIPER + GEARSHIFT PEDAL Diagram
#
NI
PAD SET, BRAKE
06435-410-405
Unavailable
NI
PAD SET, BRAKE This part replaces 431A0-410-670.
06435-410-405
Unavailable
1
PEDAL, GEARSHIFT (NOT AVAILABLE)
24701-300-020
Unavailable
2
ARM ASSY., KICK STARTER
28240-392-000
Unavailable
3
SPRING, KICK STARTER (NOT AVAILABLE)
28292-250-010
Unavailable
4
CLIP, KICK STARTER KNUCKLE PIN
28293-250-000
Unavailable
6
PIN, KICK STARTER KNUCKLE (NOT AVAILABLE)
28321-300-000
Unavailable
9
SPRING, STOP SWITCH
35357-358-000
Unavailable
10
CALIPER ASSY., RR. (NOT AVAILABLE) This part replaces 43200-392-006.
43200-392-305
Unavailable
10
CALIPER ASSY., RR. (NOT AVAILABLE) This part replaces 43200-392-016.
43200-392-305
Unavailable
10
CALIPER ASSY., RR. (NOT AVAILABLE)
43200-392-305
Unavailable
11
CALIPER A (NISSHIN) (NOT AVAILABLE)
43201-392-006
Unavailable
12
CALIPER B (NISSHIN)
43202-392-006
Unavailable
14
COVER, DUST (NISSHIN)
43207-371-006
Unavailable
16
PAD, RR. BRAKE (SEE KIT P/N--END OF BLOCK) (NOT AVAILABLE) This part replaces 43211-392-006.
43211-431-673
Unavailable
16
PAD, RR. BRAKE (SEE KIT P/N--END OF BLOCK) (NOT AVAILABLE) This part replaces 43211-392-016.
43211-431-673
Unavailable
16
PAD, RR. BRAKE (SEE KIT P/N--END OF BLOCK) (NOT AVAILABLE) This part replaces 43211-431-671.
43211-431-673
Unavailable
16
PAD, RR. BRAKE (SEE KIT P/N--END OF BLOCK) (NOT AVAILABLE) This part replaces 43211-431-672.
43211-431-673
Unavailable
16
PAD, RR. BRAKE (SEE KIT P/N--END OF BLOCK) (NOT AVAILABLE)
43211-431-673
Unavailable
17
SPRING, PAD SETTING (NISSHIN) (NOT AVAILABLE)
43213-371-006
Unavailable
19
PIN, PAD (NISSHIN) (NOT AVAILABLE)
43215-371-006
Unavailable
20
SEAL, JOINT (NISSHIN)
43217-371-006
Unavailable
22
COVER, INDICATOR (NOT AVAILABLE)
43219-371-006
Unavailable
23
COVER, PAD (NISSHIN) (NOT AVAILABLE)
43241-371-006
Unavailable
24
HOSE, RR. BRAKE (NICHIRIN) (NOT AVAILABLE)
43310-392-003
Unavailable
27
LINK, TORQUE (NOT AVAILABLE)
43431-392-000
Unavailable
29
MASTER CYLINDER ASSY., RR. (NOT AVAILABLE) | Use up to Frame SN 1010686
43500-392-303
Unavailable
29
MASTER CYLINDER | Use from Frame SN 1010687 This part replaces 43500-392-671.
43500-392-622
Unavailable
29
MASTER CYLINDER This part replaces 43500-392-672.
43500-392-622
Unavailable
30
BOOT, MASTER CYLINDER (NOT AVAILABLE)
43504-371-003
Unavailable
31
MASTER CYLINDER SET, RR.
43510-392-305
Unavailable
33
ROD, PUSH (NISSHIN) (NOT AVAILABLE)
43530-392-003
Unavailable
34
HOLDER, RR. MASTER CYLINDER (NOT AVAILABLE)
43550-392-000
Unavailable
36
CAP, OIL CUP
43513-MJ6-006
Unavailable
36
CAP, OIL CUP This part replaces 43513-461-771.
43513-MJ6-006
Unavailable
36
CAP, OIL CUP This part replaces 45513-341-771.
43513-MJ6-006
Unavailable
41
PEDAL, RR. BRAKE (NOT AVAILABLE)
46500-392-000
Unavailable
42
PIN, BRAKE ROD
46503-371-000
Unavailable
43
JOINT, BRAKE ROD (NOT AVAILABLE)
46504-371-000
Unavailable
44
SPINDLE, RR. BRAKE PEDAL (NOT AVAILABLE)
46510-392-000
Unavailable
45
SPRING, BRAKE PEDAL (NOT AVAILABLE)
46514-392-000
Unavailable
46
BRACKET, STOP SWITCH (NOT AVAILABLE)
50146-392-000
Unavailable
47
BOLT-WASHER (5X10) (NOT AVAILABLE)
90103-371-006
Unavailable
48
BOLT, RR. BRAKE STOPPER ARM
90124-392-000
Unavailable
50
BOLT, PLUG (NOT AVAILABLE)
90161-371-003
Unavailable
51
BOLT, CALIPER MOUNT (NOT AVAILABLE)
90163-371-006
Unavailable
56
BOLT, HEX. (8X28) This part replaces 92000-08028-0B.
92101-08028-0B
Unavailable
60
BOLT, HEX. (10X55) (NOT AVAILABLE)
92000-10055-0A
Unavailable
