- Partiron
- OEM Parts
- Honda
- MOTORCYCLE
- 1977
- CB750FA (77) 750 SUPER SPORT, JPN, VIN# CB750F-2100011 TO CB750F-2111489
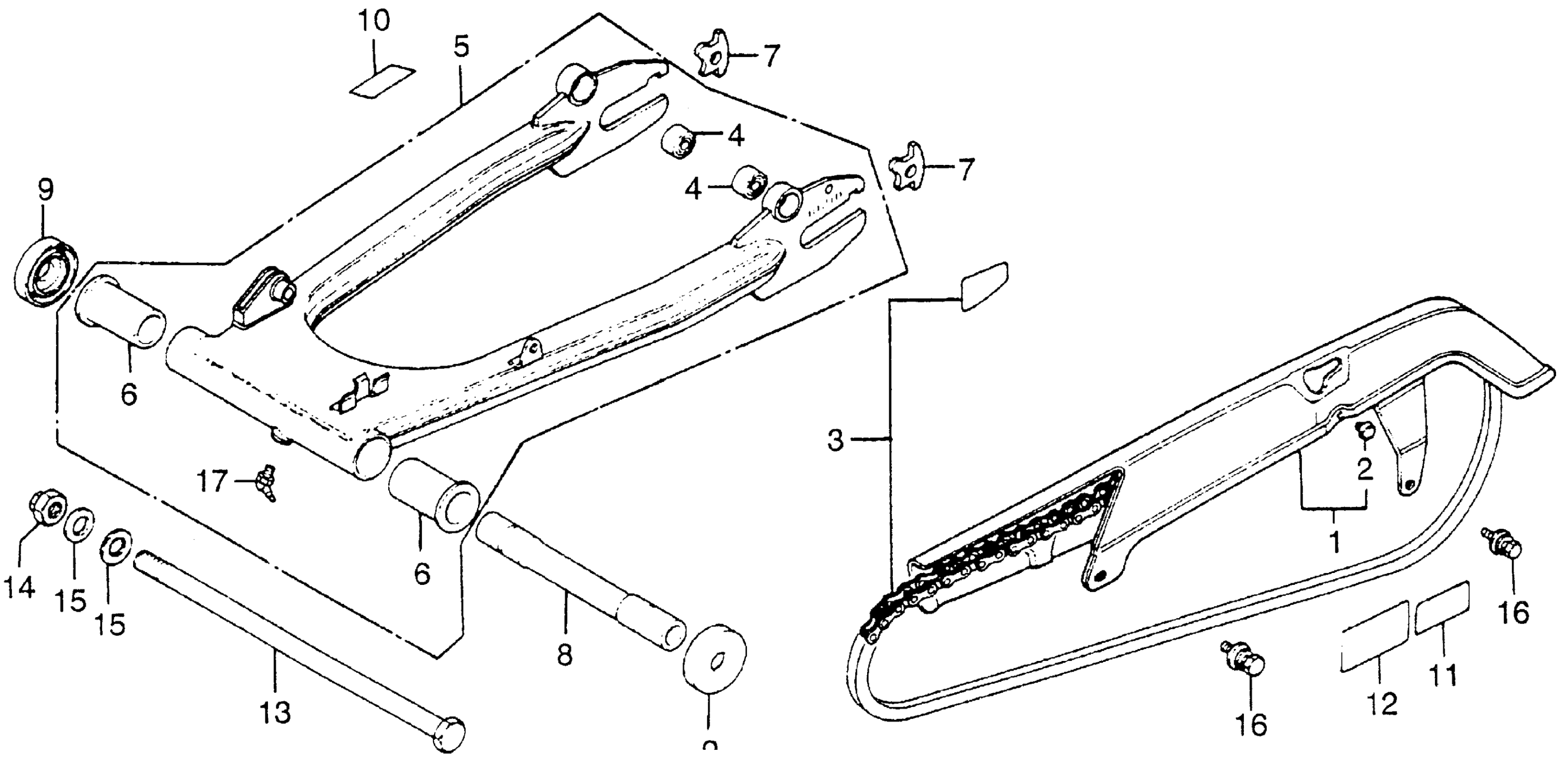
SWINGARM + DRIVE CHAIN + CHAIN CASE
Honda CB750FA (77) 750 SUPER SPORT, JPN, VIN# CB750F-2100011 TO CB750F-2111489 SWINGARM + DRIVE CHAIN + CHAIN CASE Diagram
#
Description
Price
1
CASE, DRIVE CHAIN (NOT AVAILABLE)
40510-410-000
Unavailable
3
CHAIN SET, DRIVE (DID630DL-88L ENDLESS) (NOT AVAILABLE) This part replaces 40530-405-305.
40535-425-641
Unavailable
3
CHAIN SET, DRIVE (DID630DL-88L ENDLESS) (NOT AVAILABLE) This part replaces 40530-405-335.
40535-425-641
Unavailable
3
CHAIN SET, DRIVE (DID630DL-88L ENDLESS) (NOT AVAILABLE) This part replaces 40530-405-345.
40535-425-641
Unavailable
3
CHAIN SET, DRIVE (DID630DL-88L ENDLESS) (NOT AVAILABLE)
40535-425-641
Unavailable
5
SWINGARM ASSY., RR. *NH1* (BLACK) (NOT AVAILABLE)
52100-410-000ZA
Unavailable
6
BUSH, SWINGARM PIVOT
52108-457-300
Unavailable
7
STOPPER, CHAIN ADJUSTER
52136-ME1-670
Unavailable
7
STOPPER, CHAIN ADJUSTER This part replaces 52136-405-000.
52136-ME1-670
Unavailable
7
STOPPER, CHAIN ADJUSTER This part replaces 52136-425-870.
52136-ME1-670
Unavailable
8
COLLAR, RR. SWINGARM CENTER (NOT AVAILABLE) This part replaces 52141-390-000.
52141-390-010
Unavailable
8
COLLAR, RR. SWINGARM CENTER (NOT AVAILABLE)
52141-390-010
Unavailable
9
CAP, DUST SEAL
52144-362-000
Unavailable
11
MARK, TIRE CAUTION (NOT AVAILABLE)
87505-410-670
Unavailable
12
MARK, CHAIN CAUTION (NOT AVAILABLE) This part replaces 87507-405-670.
87507-405-671
Unavailable
13
BOLT, SWINGARM PIVOT (NOT AVAILABLE)
90121-393-770
Unavailable
16
BOLT-WASHER (6X14) (NOT AVAILABLE)
93483-06014-00
Unavailable
