- Partiron
- OEM Parts
- Honda
- MOTORCYCLE
- 1982
- CB750CA (82) 750 CUSTOM, JPN, VIN# JH2RC011-CM200003 TO JH2RC011-CM206708
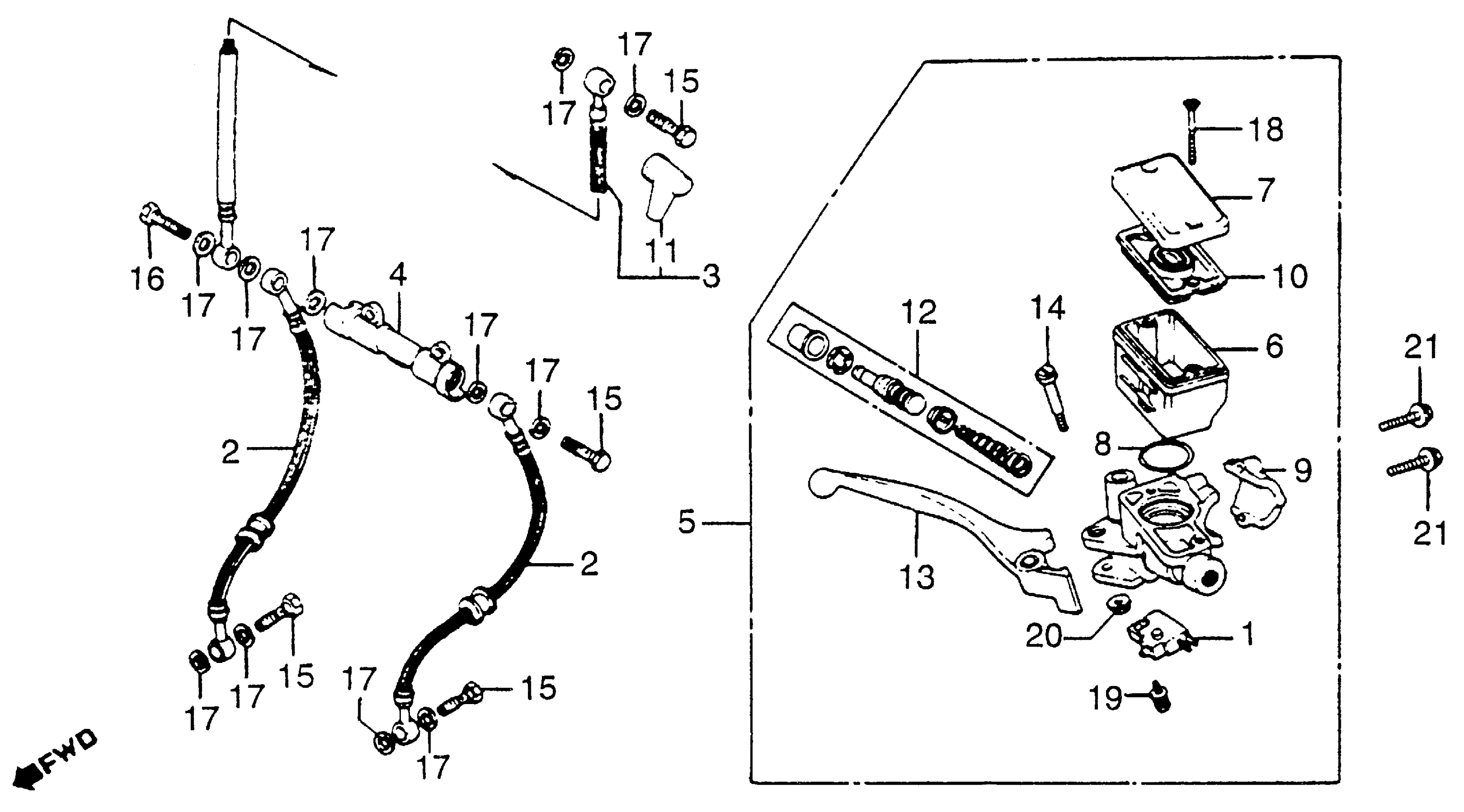
FRONT BRAKE MASTER CYLINDER 81-82
Honda CB750CA (82) 750 CUSTOM, JPN, VIN# JH2RC011-CM200003 TO JH2RC011-CM206708 FRONT BRAKE MASTER CYLINDER 81-82 Diagram
#
Description
Price
2
HOSE A, FR. BRAKE (NOT AVAILABLE)
45125-MA5-771
Unavailable
3
HOSE ASSY. B, FR. BRAKE (NOT AVAILABLE)
45126-MA5-003
Unavailable
4
JOINT (TWO-WAY) (NOT AVAILABLE)
45127-461-003
Unavailable
5
MASTER CYLINDER ASSY., FR. BRAKE (NA USE ALT:45510-MA5-405)
45500-MA5-672
Unavailable
7
CAP, OIL CUP
45513-MA5-671
Unavailable
13
LEVER, R. HANDLEBAR
53175-MA5-671
Unavailable
16
BOLT, OIL This part replaces 90145-422-010.
90145-422-020
Unavailable
