- Partiron
- OEM Parts
- Honda
- MOTORCYCLE
- 1976
- CB750AA (76) 750 HONDAMATIC, JPN, VIN# CB750A-7000001 TO CB750A-7007331
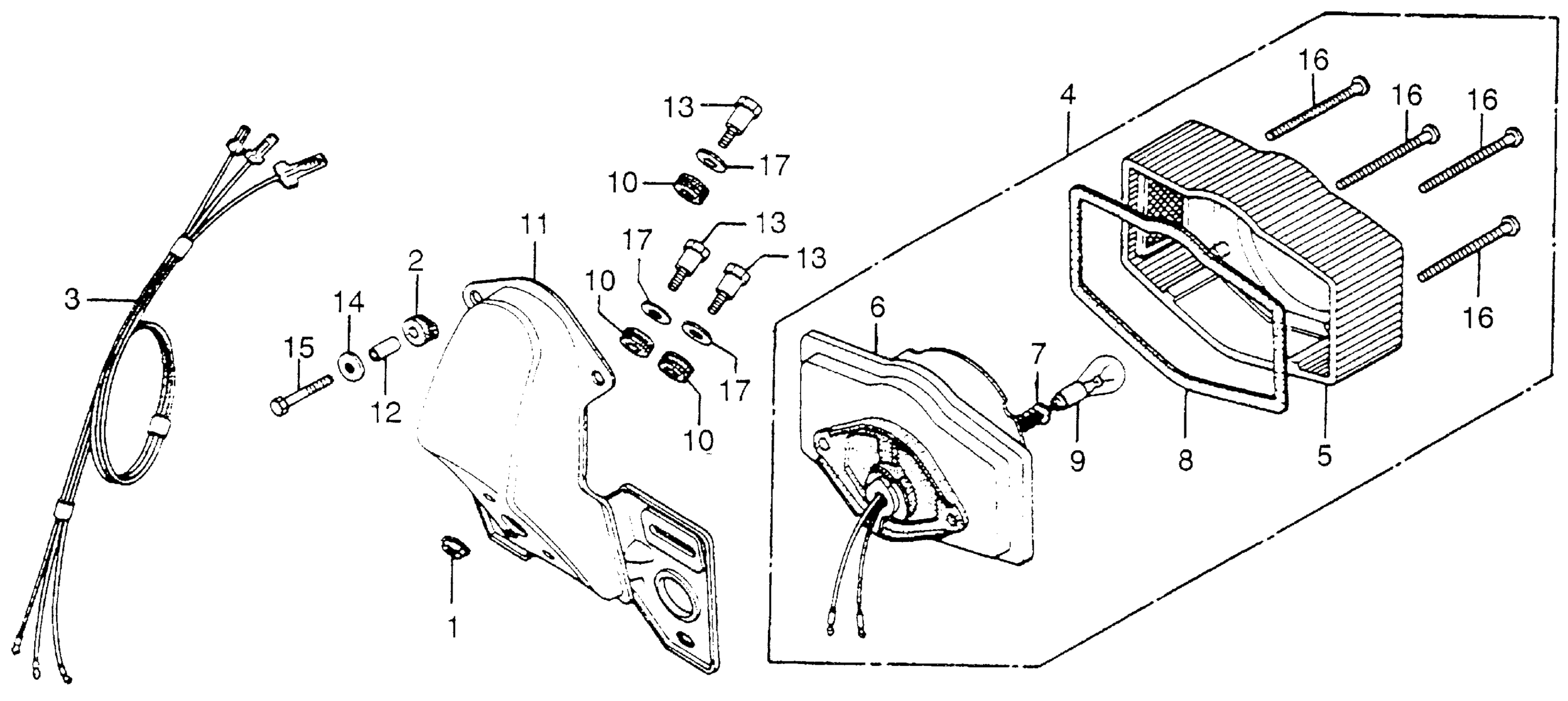
TAILLIGHT
Honda CB750AA (76) 750 HONDAMATIC, JPN, VIN# CB750A-7000001 TO CB750A-7007331 TAILLIGHT Diagram
#
Description
Price
3
SUB-WIRE, TAIL (NOT AVAILABLE)
32111-393-000
Unavailable
4
TAILLIGHT UNIT (12V 32/3CP) (NOT AVAILABLE)
33701-341-910
Unavailable
5
LENS, TAILLIGHT
33702-341-671
Unavailable
6
BASE, TAILLIGHT (NOT AVAILABLE)
33703-341-900
Unavailable
7
WIRE, TAILLIGHT
33708-098-000
Unavailable
7
WIRE, TAILLIGHT This part replaces 33708-341-671.
33708-098-000
Unavailable
8
GASKET, TAILLIGHT LENS
33709-341-671
Unavailable
9
BULB, TAILLIGHT (12V27/7W) (2057HD) (STANLEY) This part replaces 34906-341-671.
34906-MG9-771
$4.15
11
BRACKET, NUMBER PLATE This part replaces 84700-393-670.
84700-425-870
Unavailable
11
BRACKET, NUMBER PLATE
84700-425-870
Unavailable
12
COLLAR, TAILLIGHT UNIT
84706-378-000
Unavailable
