- Partiron
- OEM Parts
- Honda
- MOTORCYCLE
- 1976
- CB750AA (76) 750 HONDAMATIC, JPN, VIN# CB750A-7000001 TO CB750A-7007331
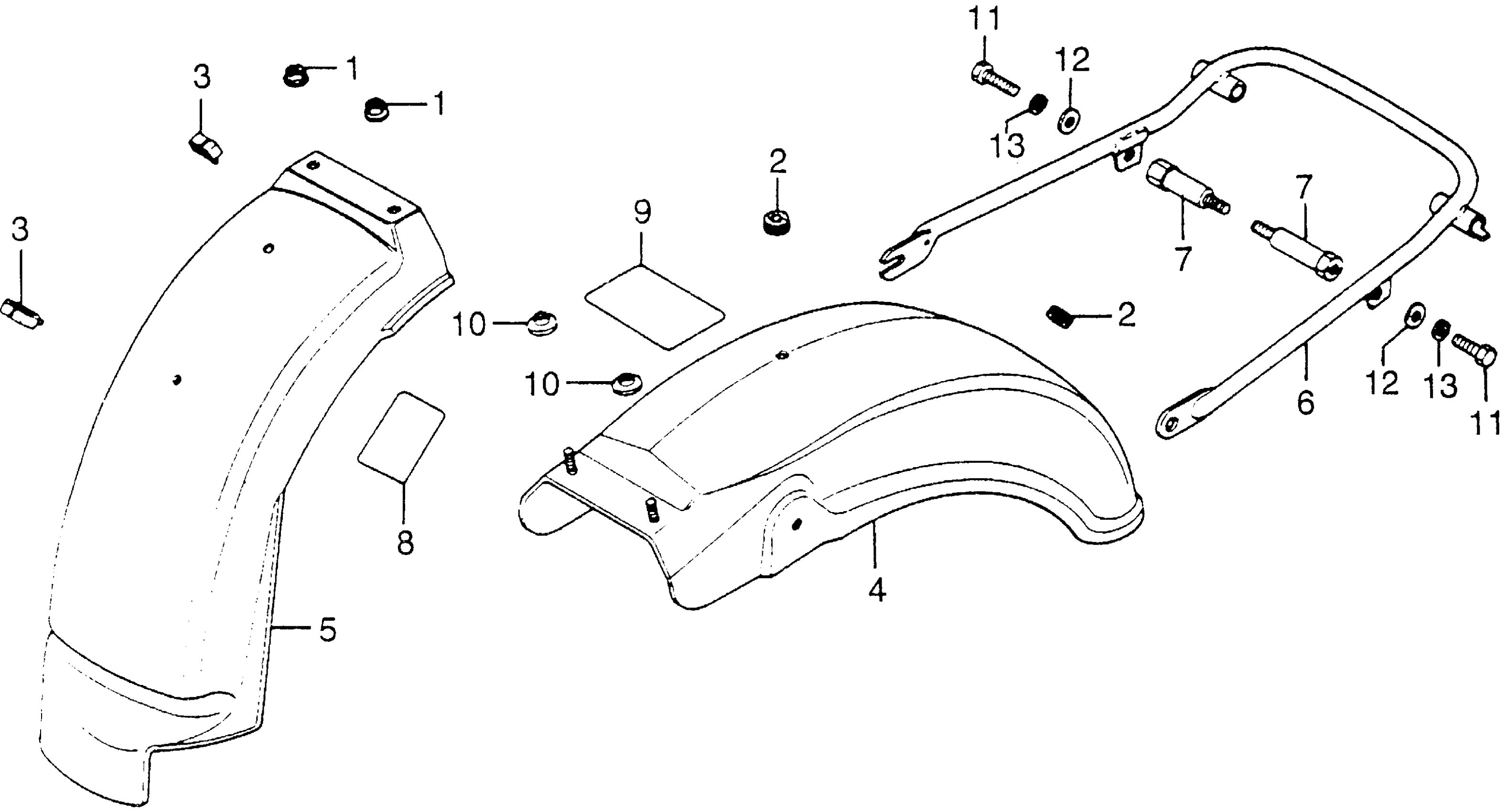
REAR FENDER
Honda CB750AA (76) 750 HONDAMATIC, JPN, VIN# CB750A-7000001 TO CB750A-7007331 REAR FENDER Diagram
#
Description
Price
4
FENDER, RR. (NOT AVAILABLE) This part replaces 80100-393-000.
80100-393-770
Unavailable
4
FENDER, RR. (NOT AVAILABLE)
80100-393-770
Unavailable
5
FENDER B, RR. (NOT AVAILABLE)
80105-341-010
Unavailable
6
BUMPER, RR. (NOT AVAILABLE)
84100-393-000
Unavailable
7
BOLT, BUMPER SET (NOT AVAILABLE)
84102-393-000
Unavailable
8
MARK, BATTERY CAUTION (NOT AVAILABLE)
87506-393-670
Unavailable
9
LABEL, ACCESSORIES & LOADING CAUTION (NOT AVAILABLE)
87512-371-670
Unavailable
