- Partiron
- OEM Parts
- Honda
- MOTORCYCLE
- 1976
- CB750AA (76) 750 HONDAMATIC, JPN, VIN# CB750A-7000001 TO CB750A-7007331
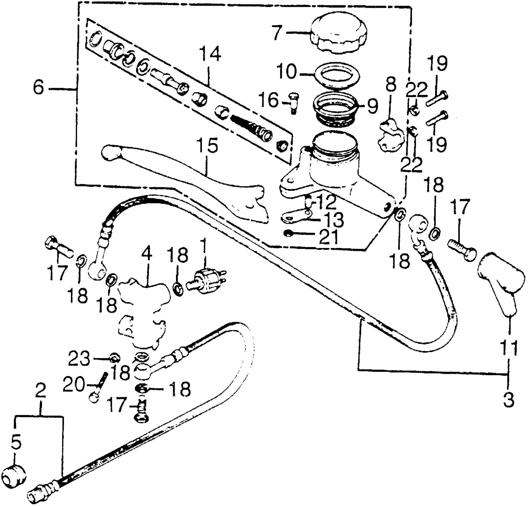
FRONT BRAKE MASTER CYLINDER
Honda CB750AA (76) 750 HONDAMATIC, JPN, VIN# CB750A-7000001 TO CB750A-7007331 FRONT BRAKE MASTER CYLINDER Diagram
#
Description
Price
1
SWITCH, STOP (NOT AVAILABLE)
35350-300-016
Unavailable
2
HOSE ASSY. A, FR. BRAKE (NICHIRIN)
45125-379-003
Unavailable
3
HOSE B, FR. BRAKE (NICHIRIN) (NOT AVAILABLE)
45126-300-752
Unavailable
4
JOINT, THREE-WAY
45127-323-000
Unavailable
6
MASTER CYLINDER ASSY. (N/A: SEE COMPONENTS)
45500-341-771
Unavailable
7
CAP, OIL CUP
43513-MJ6-006
Unavailable
7
CAP, OIL CUP This part replaces 43513-461-771.
43513-MJ6-006
Unavailable
7
CAP, OIL CUP This part replaces 45513-341-771.
43513-MJ6-006
Unavailable
12
BUSH, R. HANDLEBAR CONTROL LEVER
45526-341-000
Unavailable
13
PLATE, CONTROL LEVER BUSH SETTING
45527-300-000
Unavailable
