- Partiron
- OEM Parts
- Honda
- MOTORCYCLE
- 1982
- CB650SCA (82) NIGHTHAWK 650, JPN, VIN# JH2RC080-CM000013 TO JH2RC080-CM019135
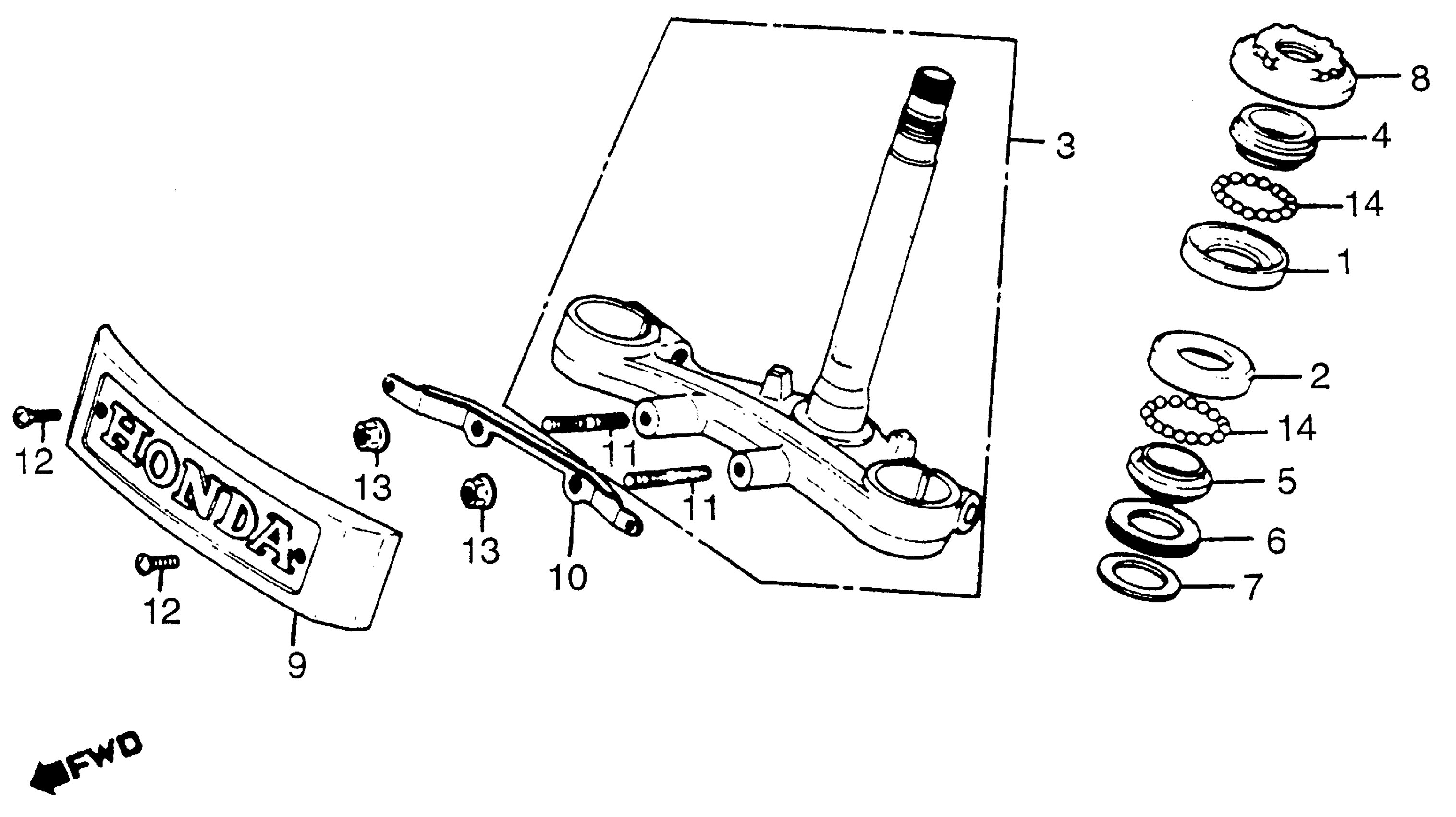
STEERING STEM
Honda CB650SCA (82) NIGHTHAWK 650, JPN, VIN# JH2RC080-CM000013 TO JH2RC080-CM019135 STEERING STEM Diagram
#
Description
Price
3
STEM, STEERING *NH1* (BLACK) (NOT AVAILABLE)
53200-460-840ZA
Unavailable
9
COVER, FR. (NOT AVAILABLE)
61401-460-840
Unavailable
10
STAY, FR. COVER (NOT AVAILABLE) This part replaces 61405-460-840.
61405-461-770
Unavailable
10
STAY, FR. COVER (NOT AVAILABLE)
61405-461-770
Unavailable
