- Partiron
- OEM Parts
- Honda
- MOTORCYCLE
- 1982
- CB650SCA (82) NIGHTHAWK 650, JPN, VIN# JH2RC080-CM000013 TO JH2RC080-CM019135
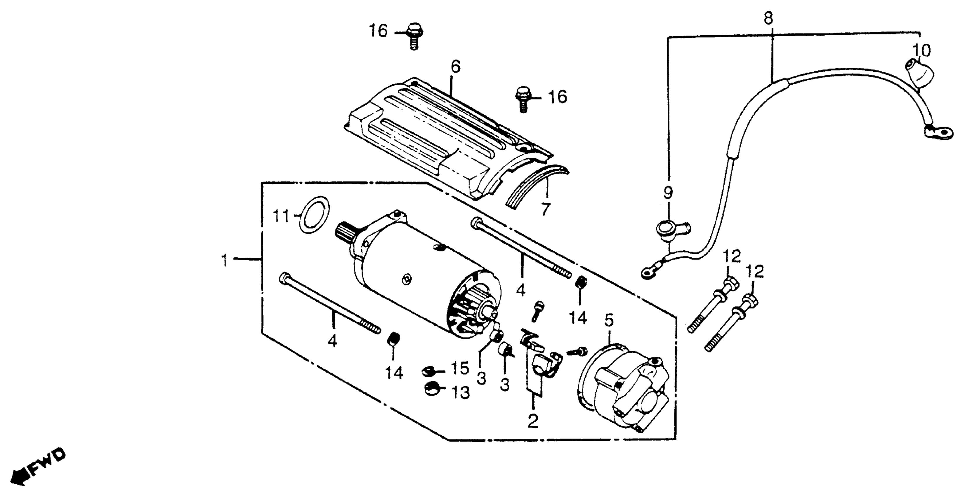
STARTING MOTOR
Honda CB650SCA (82) NIGHTHAWK 650, JPN, VIN# JH2RC080-CM000013 TO JH2RC080-CM019135 STARTING MOTOR Diagram
#
Description
Price
1
STARTER MOTOR ASSY. This part replaces 31200-426-018.
31200-426-405
Unavailable
4
BOLT, STARTER MOTOR COVER
31205-413-780
Unavailable
5
O-RING (60X1.4) This part replaces 31206-286-158.
31206-402-008
Unavailable
5
O-RING (60X1.4)
31206-402-008
Unavailable
6
COVER, STARTER MOTOR (NOT AVAILABLE)
31281-460-780
Unavailable
7
RUBBER, L. COVER SETTING (NOT AVAILABLE)
31282-426-000
Unavailable
8
CABLE, STARTER MOTOR
32402-460-000
Unavailable
10
COVER B, MAGNETIC SWITCH
32416-460-000
Unavailable
12
BOLT-WASHER (6X55) (NOT AVAILABLE)
93491-06055-00
Unavailable
