- Partiron
- OEM Parts
- Honda
- MOTORCYCLE
- 1982
- CB650SCA (82) NIGHTHAWK 650, JPN, VIN# JH2RC080-CM000013 TO JH2RC080-CM019135
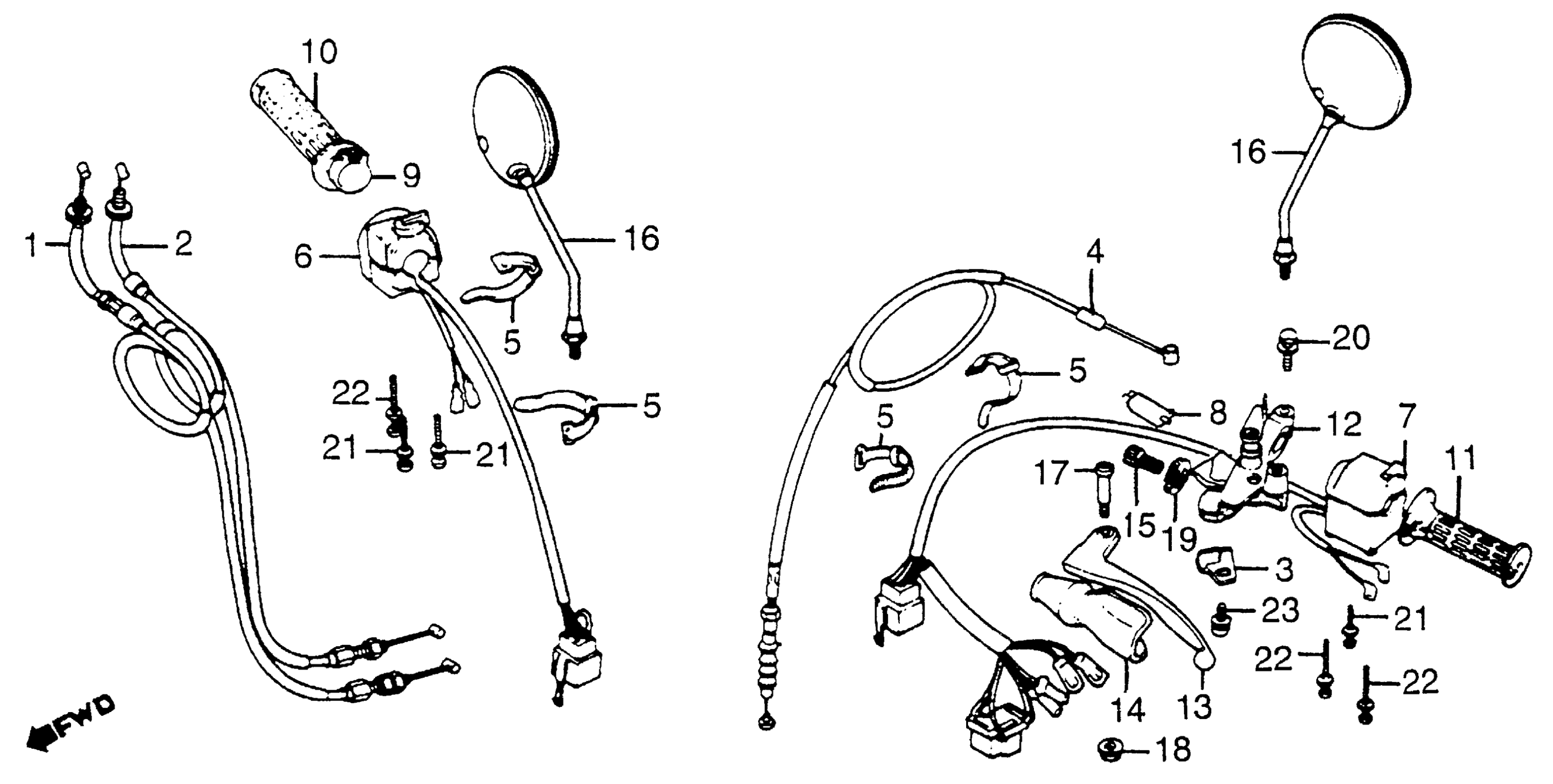
HANDLE LEVER + SWITCH + CABLE
Honda CB650SCA (82) NIGHTHAWK 650, JPN, VIN# JH2RC080-CM000013 TO JH2RC080-CM019135 HANDLE LEVER + SWITCH + CABLE Diagram
#
Description
Price
1
CABLE A, THROTTLE (NOT AVAILABLE)
17910-460-840
Unavailable
2
CABLE B, THROTTLE
17920-425-030
Unavailable
2
CABLE B, THROTTLE This part replaces 17920-460-840.
17920-425-030
Unavailable
3
HOLDER, CHOKE CABLE (NOT AVAILABLE)
17963-422-000
Unavailable
4
CABLE, CLUTCH This part replaces 22870-460-840.
22870-460-900
Unavailable
4
CABLE, CLUTCH
22870-460-900
Unavailable
6
SWITCH,START.KILL This part replaces 35130-425-672.
35130-463-505
Unavailable
6
SWITCH,START.KILL This part replaces 35130-461-770.
35130-463-505
Unavailable
7
SWITCH ASSY., TURN SIGNAL
35200-460-671
Unavailable
12
BRACKET ASSY., CONTROL LEVER
53170-MA2-000
Unavailable
14
BOOT, HANDLEBAR This part replaces 53180-422-010.
53180-422-020
Unavailable
14
BOOT, HANDLEBAR
53180-422-020
Unavailable
15
BOLT, CABLE ADJUSTING
53192-422-000
Unavailable
15
BOLT, CABLE ADJUSTING This part replaces 53192-425-000.
53192-422-000
Unavailable
16
MIRROR, R.
88100-449-770
Unavailable
19
NUT, FIXING
90321-422-000
Unavailable
20
BOLT-WASHER (6X25)
93401-06025-07
Unavailable
20
BOLT-WASHER (6X25) This part replaces 93481-06025-07.
93401-06025-07
Unavailable
