- Partiron
- OEM Parts
- Honda
- MOTORCYCLE
- 2006
- CB600FA (06) 599, ITA, VIN# ZDCPC360-6F100001
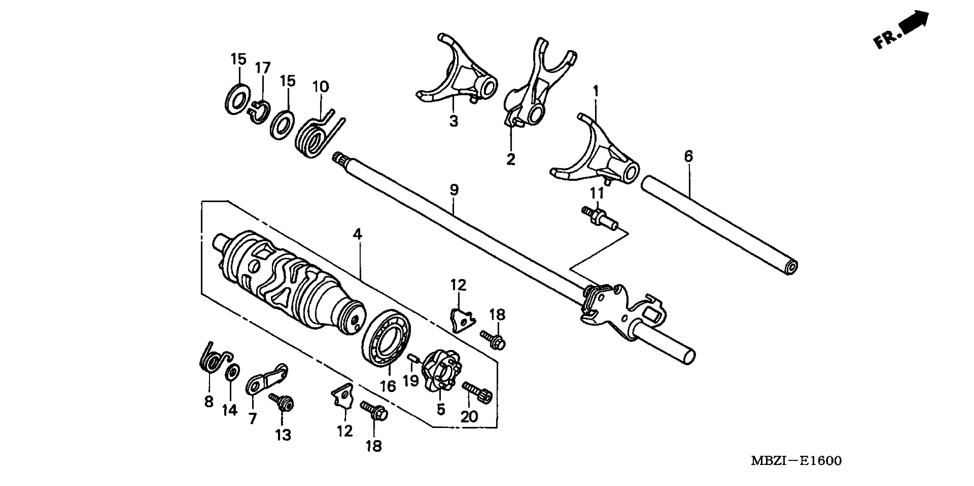
GEARSHIFT DRUM
Honda CB600FA (06) 599, ITA, VIN# ZDCPC360-6F100001 GEARSHIFT DRUM Diagram
#
Description
Price
3
FORK, L. GEARSHIFT
24213-MAL-600
Unavailable
8
SPRING, SHIFT DRUM STOPPER
24435-MAE-000
Unavailable
