- Partiron
- OEM Parts
- Honda
- MOTORCYCLE
- 1977
- CB550KA (77) 550 FOUR K, JPN, VIN# CB550K-2000007 TO CB550K-2015308
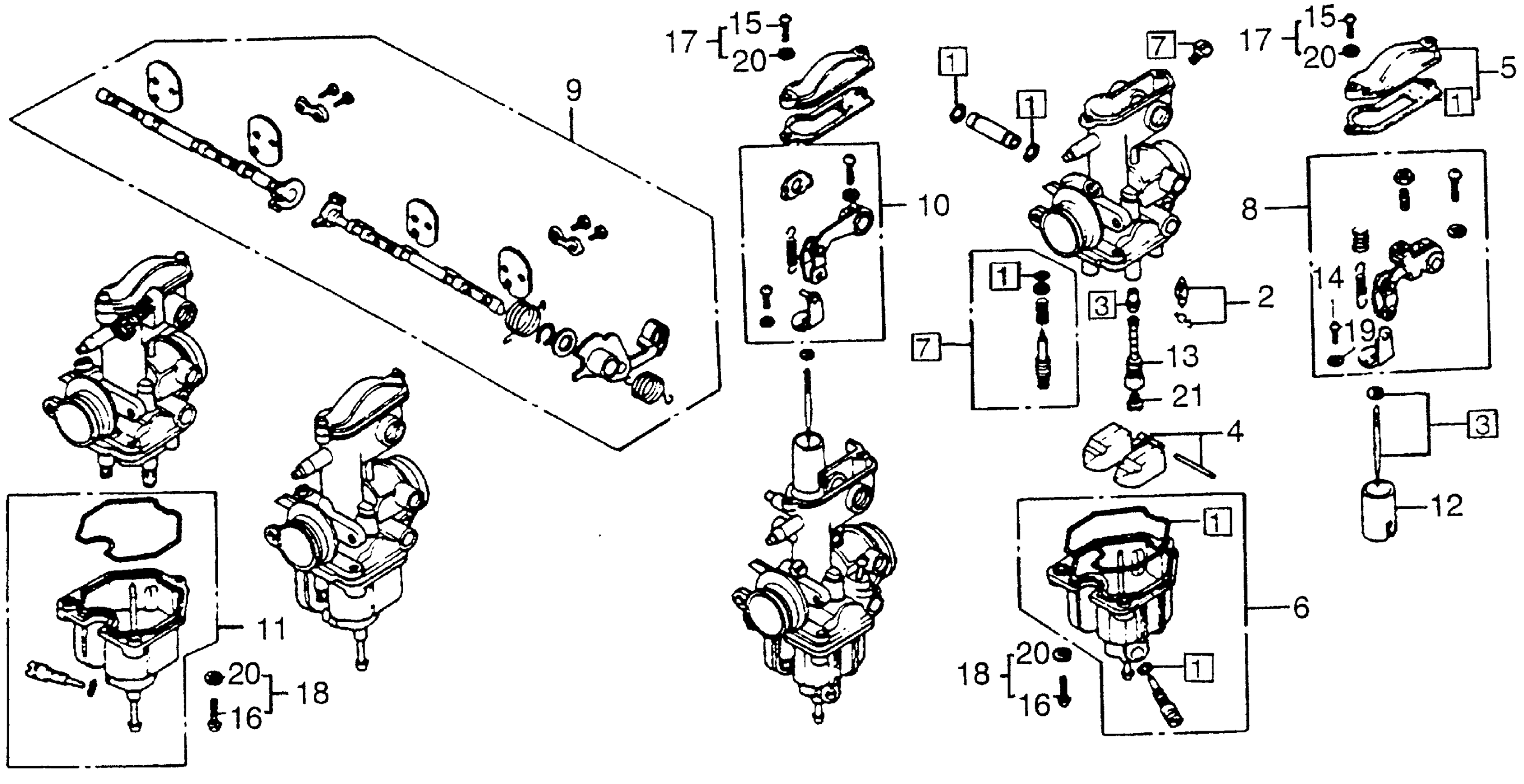
CARBURETOR COMPONENTS 77
Honda CB550KA (77) 550 FOUR K, JPN, VIN# CB550K-2000007 TO CB550K-2015308 CARBURETOR COMPONENTS 77 Diagram
#
Description
Price
2
VALVE SET, FLOAT | Use up to Engine SN PD46A C This part replaces 16011-KG0-004.
16011-KCK-910
$33.82
2
VALVE SET, FLOAT | Use up to Engine SN PD46A C This part replaces 16011-382-004.
16011-KCK-910
$33.82
2
VALVE SET, FLOAT | Use from Engine SN PD46A D This part replaces 16011-382-004.
16011-KCK-910
$33.82
2
VALVE SET, FLOAT | Use up to Engine SN PD46A C This part replaces 16011-393-004.
16011-KCK-910
$33.82
3
NEEDLE SET, JET | Use up to Engine SN PD46A B
16012-404-004
Unavailable
3
NEEDLE SET, JET | Use from Engine SN PD46A C
16012-404-630
Unavailable
5
TOP SET (NOT AVAILABLE)
16014-393-004
Unavailable
7
SCREW SET A (NOT AVAILABLE) | Use up to Engine SN PD46A B
16016-393-004
Unavailable
8
ARM SET A, LINK | Use up to Engine SN PD46A A
16018-393-004
Unavailable
8
ARM SET A, LINK | Use from Engine SN PD46A B to PD46A B
16018-404-004
Unavailable
8
ARM SET A, LINK (NOT AVAILABLE) | Use from Engine SN PD46A C
16018-404-014
Unavailable
9
LINK SET, CHOKE | Use up to Engine SN PD46A A
16025-404-305
Unavailable
9
LINK SET, CHOKE (NOT AVAILABLE) | Use from Engine SN PD46A B
16025-404-315
Unavailable
10
ARM SET B, LINK | Use up to Engine SN PD46A A
16031-393-004
Unavailable
10
ARM SET B, LINK (NOT AVAILABLE) | Use from Engine SN PD46A B
16031-404-004
Unavailable
11
CHAMBER SET, FLOAT
16015-KFC-910
Unavailable
11
CHAMBER SET, FLOAT This part replaces 16015-384-601.
16015-KFC-910
Unavailable
11
CHAMBER SET, FLOAT This part replaces 16045-393-004.
16015-KFC-910
Unavailable
12
VALVE, THROTTLE (NOT AVAILABLE)
16111-404-004
Unavailable
13
HOLDER, NEEDLE JET (NOT AVAILABLE) | Use from Engine SN PD46A C
16165-383-701
Unavailable
13
HOLDER, NEEDLE JET (NOT AVAILABLE) | Use up to Engine SN PD46A B
16165-404-004
Unavailable
13
HOLDER, NEEDLE JET (NOT AVAILABLE) | Use from Engine SN PD46A C This part replaces 16165-404-014.
16165-383-701
Unavailable
