Partiron

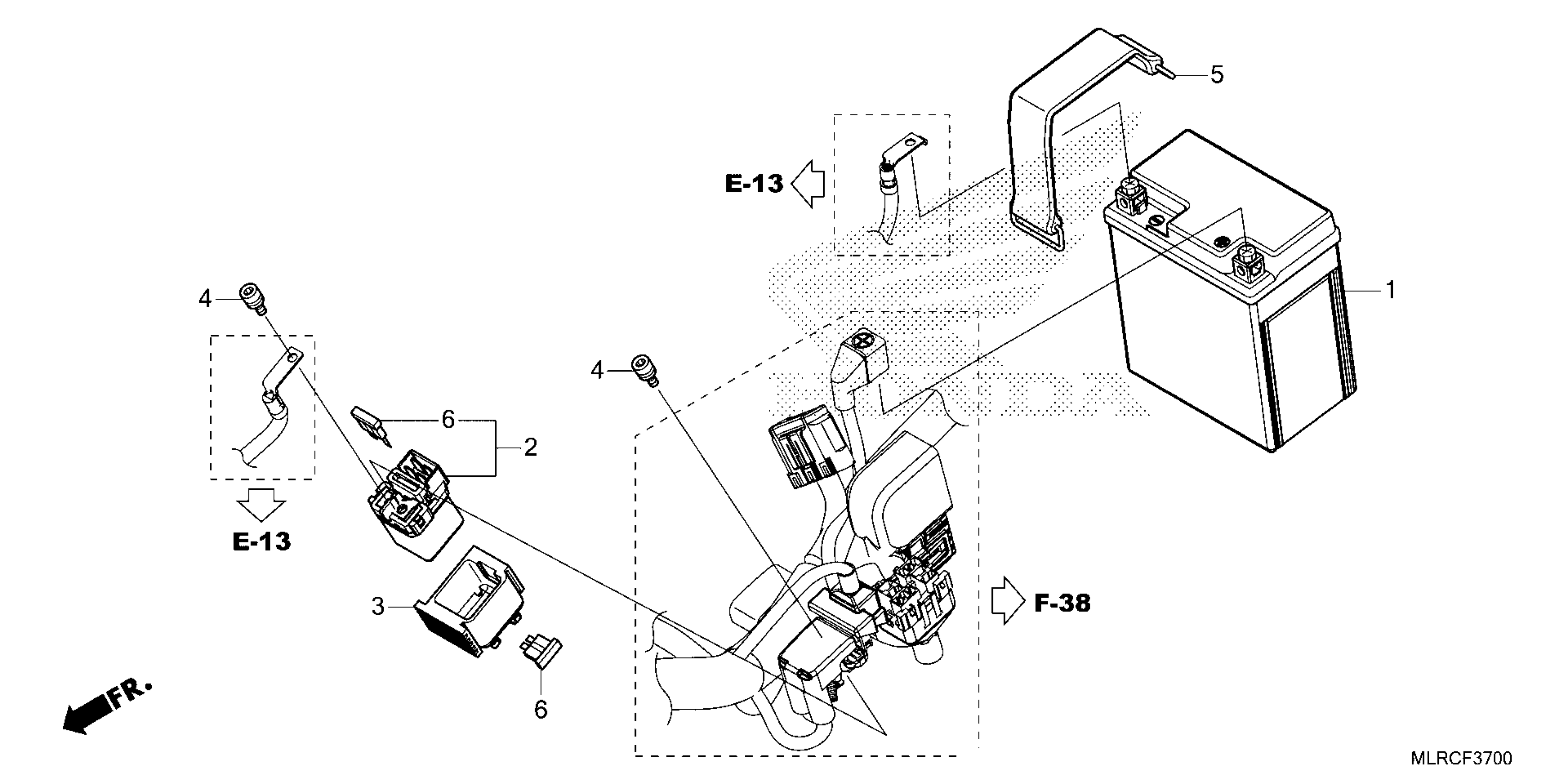
Honda CB500XA2AC (25) MOTORCYCLE, THA, VIN# MLHPC725-S5100001 TO MLHPC725-S5199999 BATTERY Diagram

#

Description
Price

1

BATTERY ASSY. (GTZ8V) (YUASA) (MSDS) This part replaces 31500-KZZ-J11.

31500-K36-A01

$67.89

1

BATTERY ASSY. (GTZ8V) (YUASA) (MSDS)

31500-K36-A01

$67.89

2

SWITCH ASSY., STARTER MAGNETIC

35850-MT4-003

$78.00

3

RUBBER, SHOCK

35856-MGZ-B00

$7.95

4

BOLT, SOCKET (5X9)

90111-MR5-000

$2.61

5

BAND F, BATTERY (155MM)

95012-17001

$7.23

6

FUSE, BLADE (30A)

98200-33000

$1.49