Partiron

Honda CB500XA2AC (24) MOTORCYCLE, THA, VIN# MLHPC725-R5000001 TO MLHPC725-R5099999 SIDE COVER Diagram

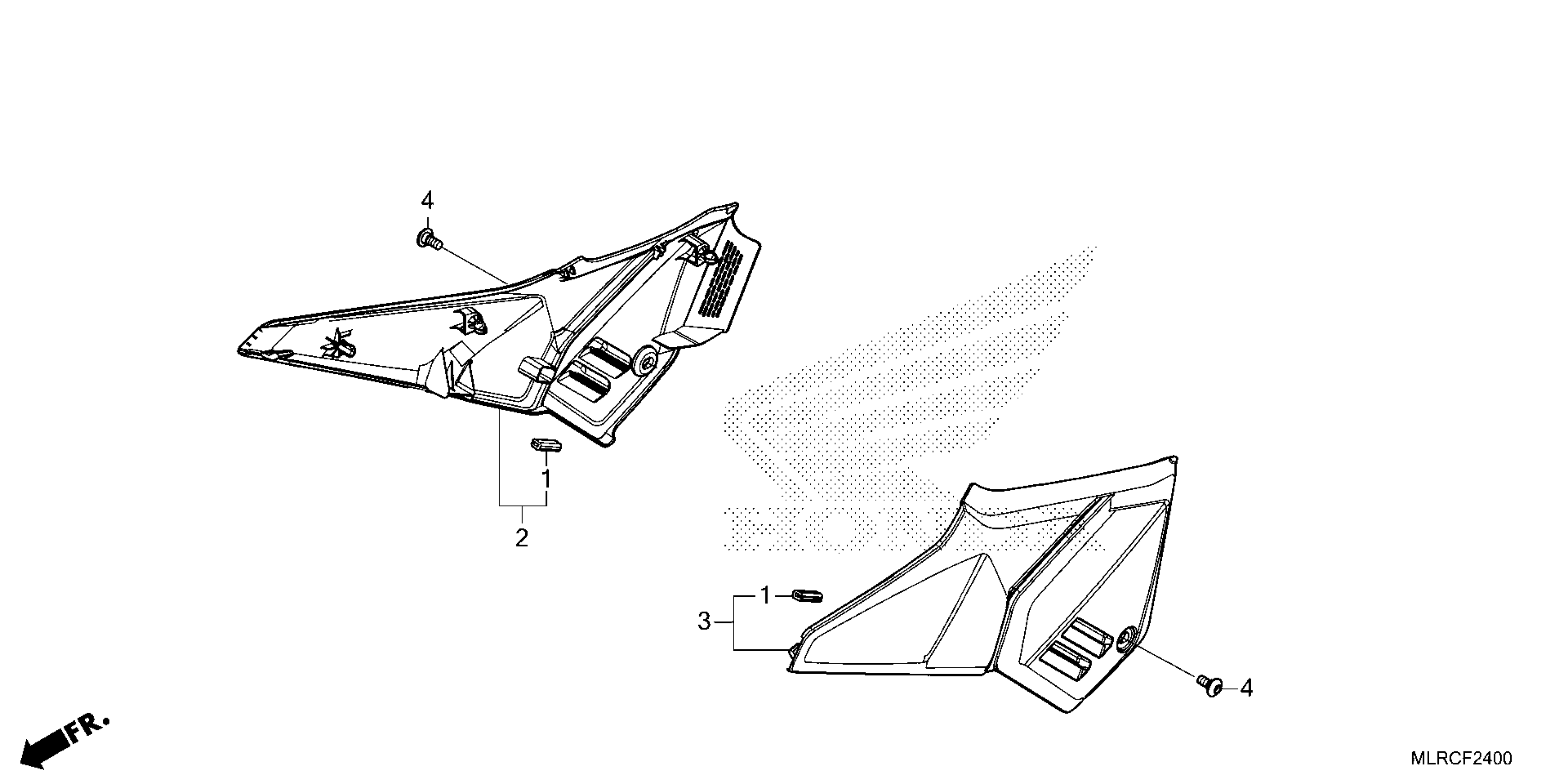
#

Description
Price

1

RUBBER, PROTECTOR

64122-MCZ-000

$1.80

2

COVER ASSY., R. SIDE

83500-MLR-D80

$11.97

3

COVER ASSY., L. SIDE

83600-MLR-D80

$10.69

4

SCREW, PAN (6X14)

90133-KPP-T00

$1.49