Honda CB400TA (81) HAWK, JPN, VIN# JH2NC030-BM100001 TAILLIGHT Diagram
#
Description
Price
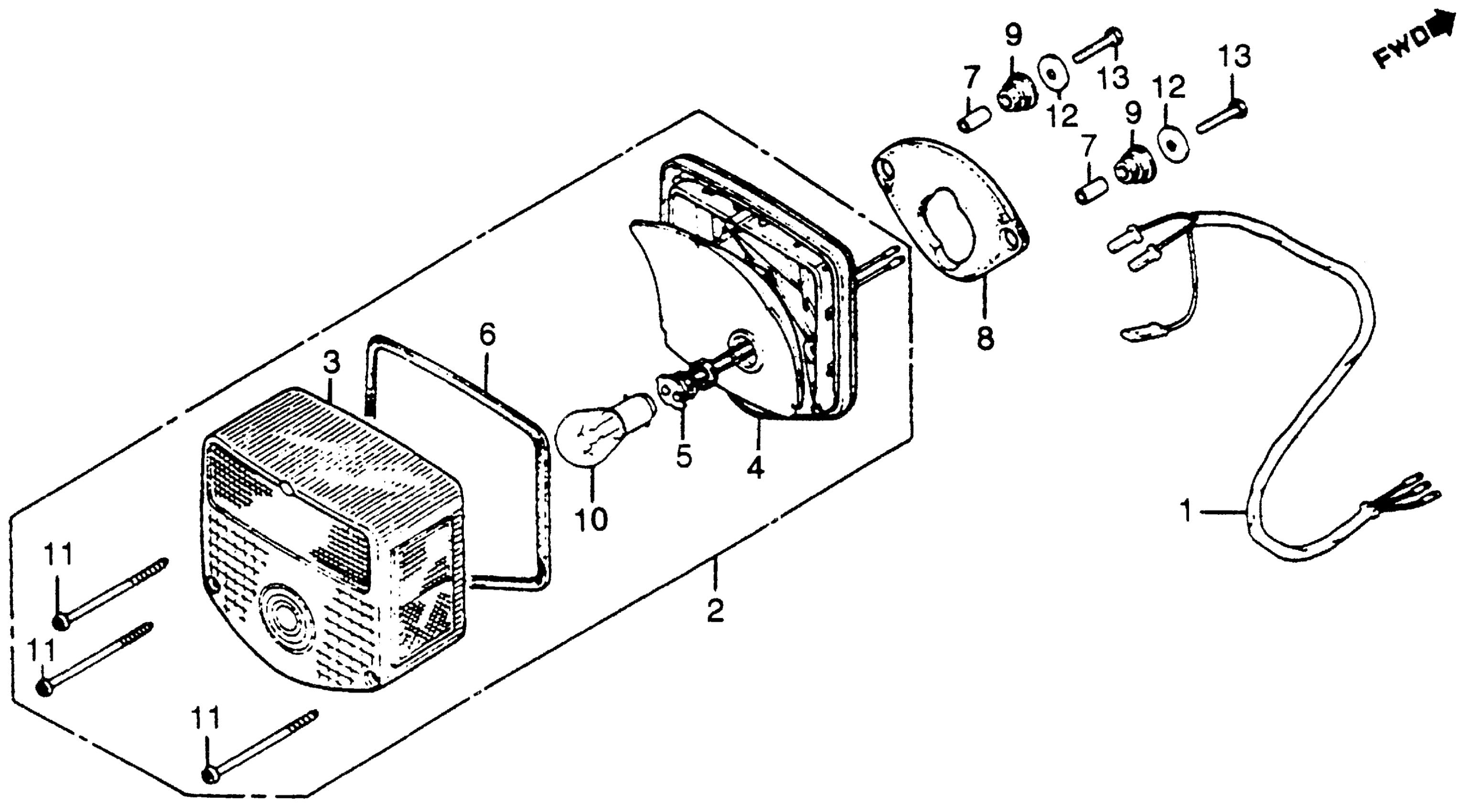
1
CABLE, TAILLIGHT SUB (NOT AVAILABLE)
32200-443-000
Unavailable
2
TAILLIGHT UNIT (12V27/8W) (NOT AVAILABLE)
33701-413-751
Unavailable
3
LENS, TAILLIGHT
33702-329-671
Unavailable
4
SOCKET, TAILLIGHT
33703-126-721
Unavailable
5
WIRE, TAILLIGHT
33708-098-000
Unavailable
5
WIRE, TAILLIGHT This part replaces 33708-341-671.
33708-098-000
Unavailable
7
COLLAR, TAILLIGHT (NOT AVAILABLE)
33716-413-750
Unavailable
8
SPACER, TAILLIGHT (NOT AVAILABLE)
33717-413-750
Unavailable
9
GROMMET, TAILLIGHT
33719-399-000
Unavailable
10
BULB, TAILLIGHT (12V27/7W) (2057HD) (STANLEY) This part replaces 34906-341-671.
34906-MG9-771
$4.15
