Partiron

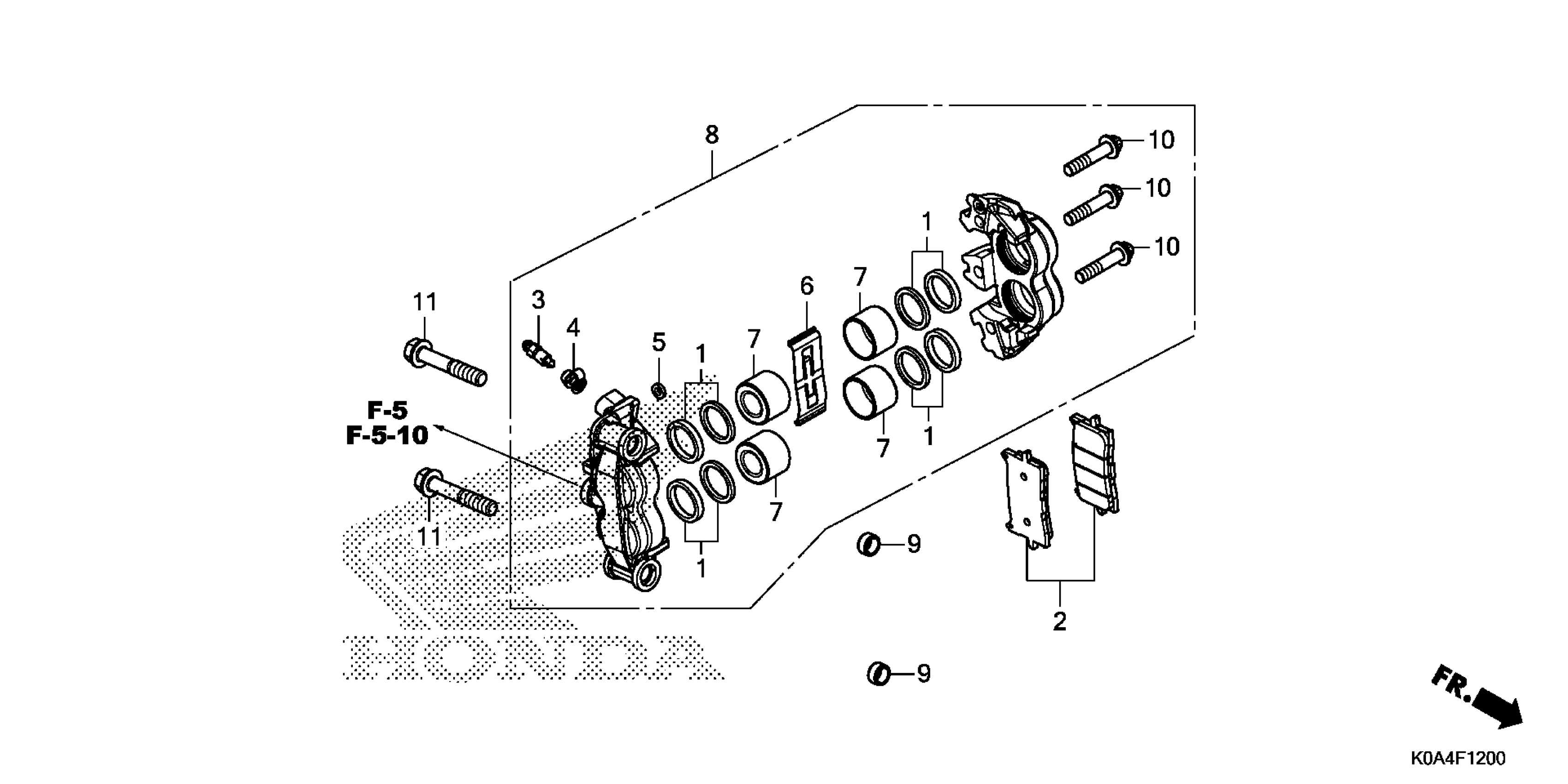
Honda CB300RAC (19) MOTORCYCLE, THA, VIN# MLHNC550-K5000001 TO MLHNC550-K5099999 FRONT BRAKE CALIPER Diagram

#

Description
Price

1

SEAL SET, PISTON (RIGHT SIDE, QTY-1 & LEFT SIDE QTY-2, TOTAL QTY-3)

06451-GE2-405

$11.41

2

PAD SET, FR.

06455-K94-T01

$29.35

3

SCREW, BLEEDER (NISSIN)

43352-568-003

$7.95

4

CAP, BLEEDER

43353-461-771

$5.05

5

SEAL, JOINT (NISSIN)

45103-MR7-006

$3.72

6

SPRING, PAD

45106-MJP-G51

$8.74

7

PISTON A

45107-K94-T01

$17.89

8

CALIPER SUB-ASSY., R. FR. (NISSIN)

45250-K94-T01

$239.03

9

SPACER, FR. FORK

51497-K94-T00

$4.11

10

BOLT, TORX (8X38)

90104-MJP-G51

$5.08

11

BOLT, FLANGE (10X57)

90123-K94-T00

$1.64