- Partiron
- OEM Parts
- Honda
- MOTORCYCLE
- Models With No Year
- CB200TA MOTORCYCLE, JPN, VIN# CB200T-2000001
GEARSHIFT FORK + DRUM
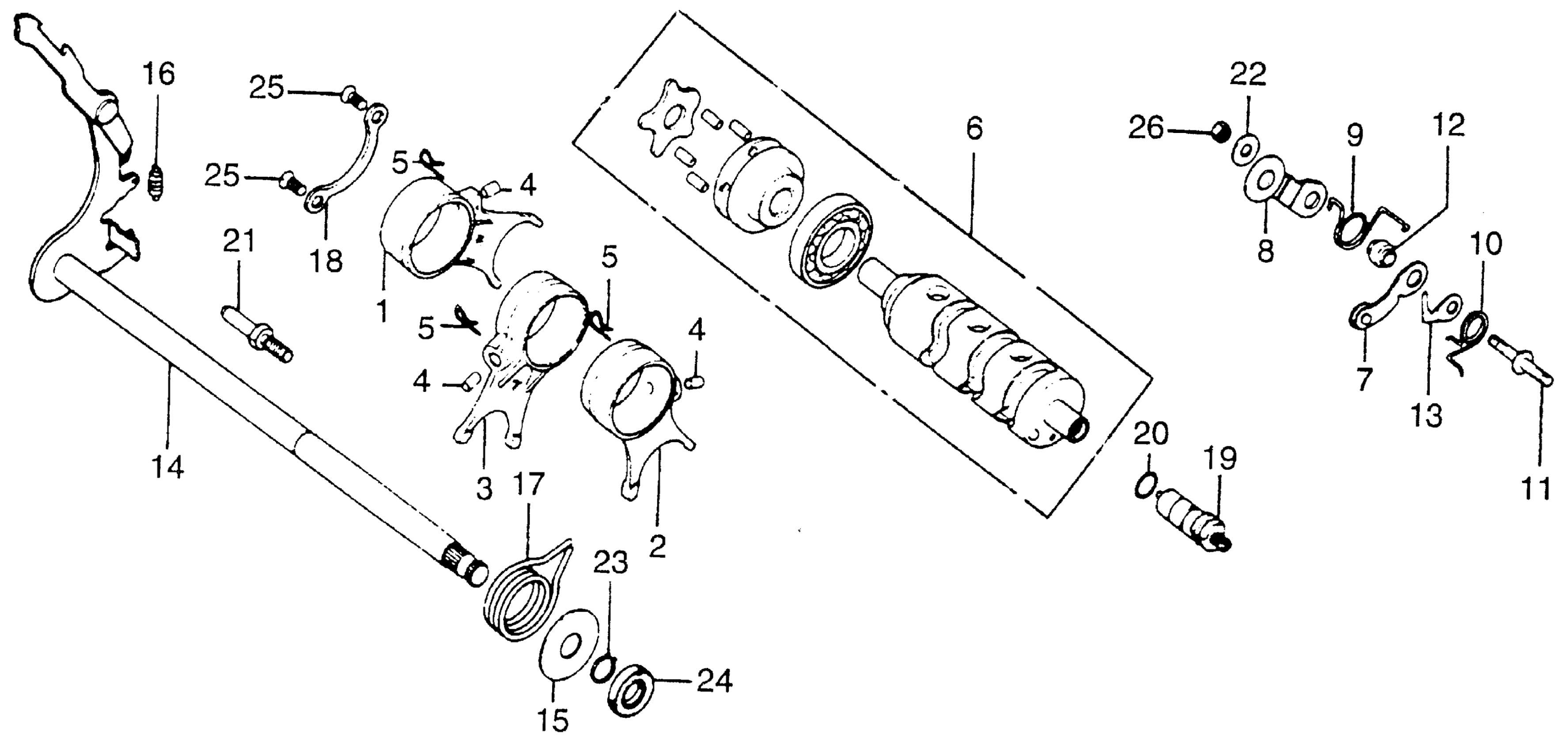
Honda CB200TA MOTORCYCLE, JPN, VIN# CB200T-2000001 GEARSHIFT FORK + DRUM Diagram
#
Description
Price
1
FORK, R. GEARSHIFT
24211-354-000
Unavailable
2
FORK, L. GEARSHIFT (NOT AVAILABLE)
24221-235-000
Unavailable
3
FORK, CENTER GEARSHIFT
24231-235-000
Unavailable
5
CLIP, GEARSHIFT FORK GUIDE (NOT AVAILABLE)
24263-283-000
Unavailable
6
DRUM, GEARSHIFT (NOT AVAILABLE)
24300-354-000
Unavailable
7
ARM, NEUTRAL STOPPER
24420-354-000
Unavailable
8
STOPPER, SHIFT DRUM (NOT AVAILABLE) This part replaces 24430-302-000.
24430-302-010
Unavailable
8
STOPPER, SHIFT DRUM (NOT AVAILABLE)
24430-302-010
Unavailable
9
SPRING, SHIFT DRUM STOPPER (NOT AVAILABLE)
24435-302-000
Unavailable
10
SPRING, NEUTRAL STOPPER (NOT AVAILABLE)
24436-315-000
Unavailable
11
PIN, SHIFT DRUM STOPPER (NOT AVAILABLE)
24437-302-000
Unavailable
13
PLATE, STOPPER ARM (NOT AVAILABLE)
24439-302-000
Unavailable
14
SPINDLE, GEARSHIFT
24610-302-020
Unavailable
15
STOPPER, GEARSHIFT SPINDLE (NOT AVAILABLE)
24621-200-000
Unavailable
17
SPRING, GEARSHIFT RETURN (NOT AVAILABLE)
24651-235-000
Unavailable
18
PLATE, BEARING SET (NOT AVAILABLE)
24710-235-000
Unavailable
19
SWITCH, NEUTRAL (NOT AVAILABLE)
35750-333-023
Unavailable
20
O-RING (NOT AVAILABLE)
35751-333-003
Unavailable
21
PIN, RETURN SPRING
90015-286-000
Unavailable
22
WASHER, GEARSHIFT DRUM STOPPER (NOT AVAILABLE)
90417-302-000
Unavailable
23
CIRCLIP (12MM) (NOT AVAILABLE) | Use up to Engine SN 2029854
90603-200-000
Unavailable
