- Partiron
- OEM Parts
- Honda
- MOTORCYCLE
- Models With No Year
- CB200A MOTORCYCLE, JPN, VIN# CB200-1000001
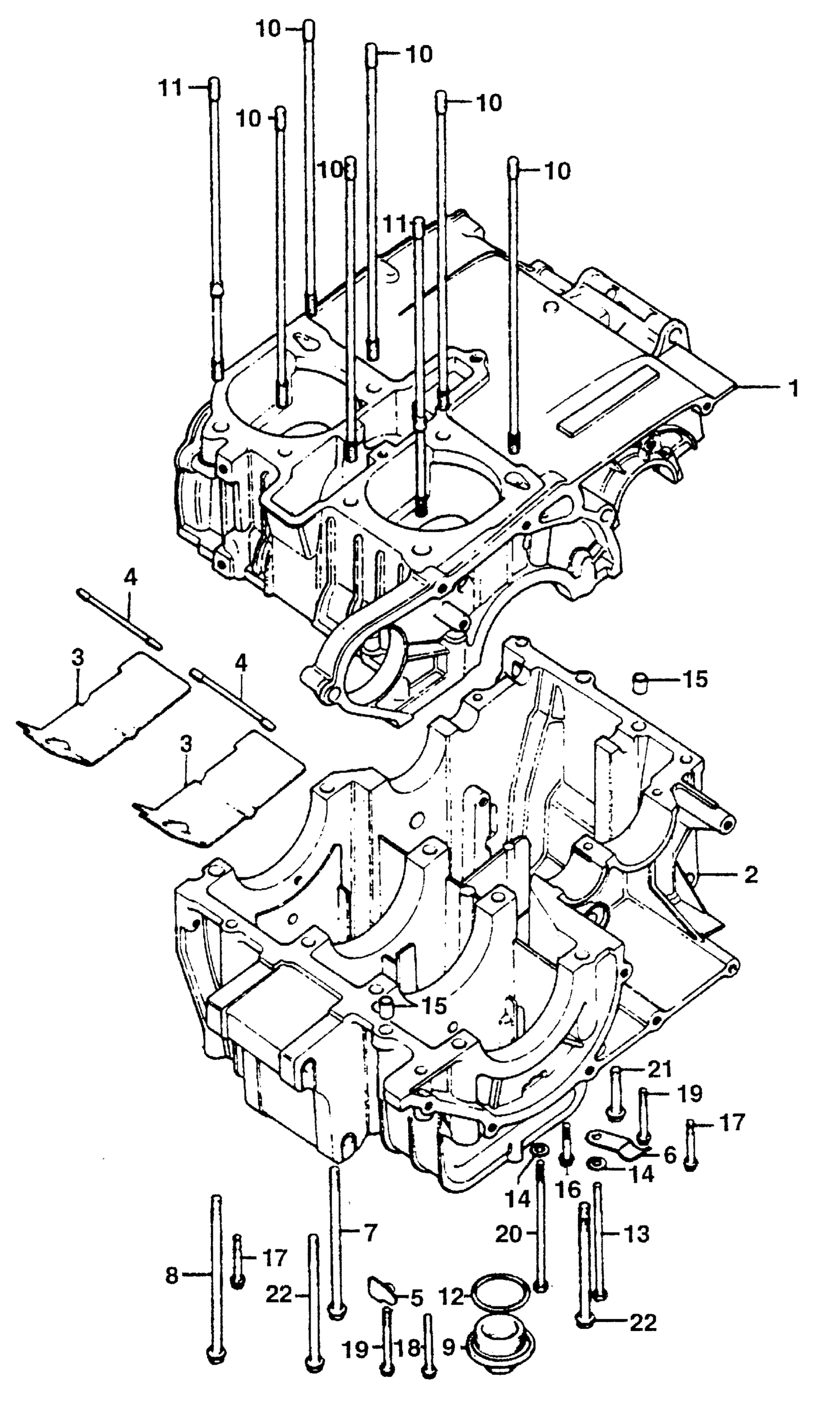
CRANKCASE
Honda CB200A MOTORCYCLE, JPN, VIN# CB200-1000001 CRANKCASE Diagram
#
Description
Price
1
CRANKCASE (UPPER)
11100-354-000
Unavailable
2
CRANKCASE (LOWER) (NOT AVAILABLE)
11200-354-000
Unavailable
3
SEPARATOR, OIL (NOT AVAILABLE)
11751-216-000
Unavailable
4
BAR, OIL SEPARATOR SETTING (NOT AVAILABLE)
11781-302-000
Unavailable
5
CLAMP A, MOTOR CABLE (NOT AVAILABLE)
32911-302-000
Unavailable
6
CLAMP B, MOTOR CABLE (NOT AVAILABLE)
32912-302-000
Unavailable
7
BOLT, HEX. (8X130)
90002-302-000
Unavailable
8
BOLT, HEX. (8X135) (NOT AVAILABLE)
90003-302-000
Unavailable
9
BOLT, DRAIN VALVE (NOT AVAILABLE)
90013-312-000
Unavailable
10
STUD A, CYLINDER (8X242) (NOT AVAILABLE)
90031-354-000
Unavailable
11
STUD B, CYLINDER (8X242)
90032-354-000
Unavailable
13
BOLT, HEX. (6X95) (SOURCE: VINTAGE PARTS INC.)
92000-06095
Unavailable
