- Partiron
- OEM Parts
- Honda
- MOTORCYCLE
- 2013
- CB1100AAC (13) MOTORCYCLE, JPN, VIN# JH2SC655-DK000001
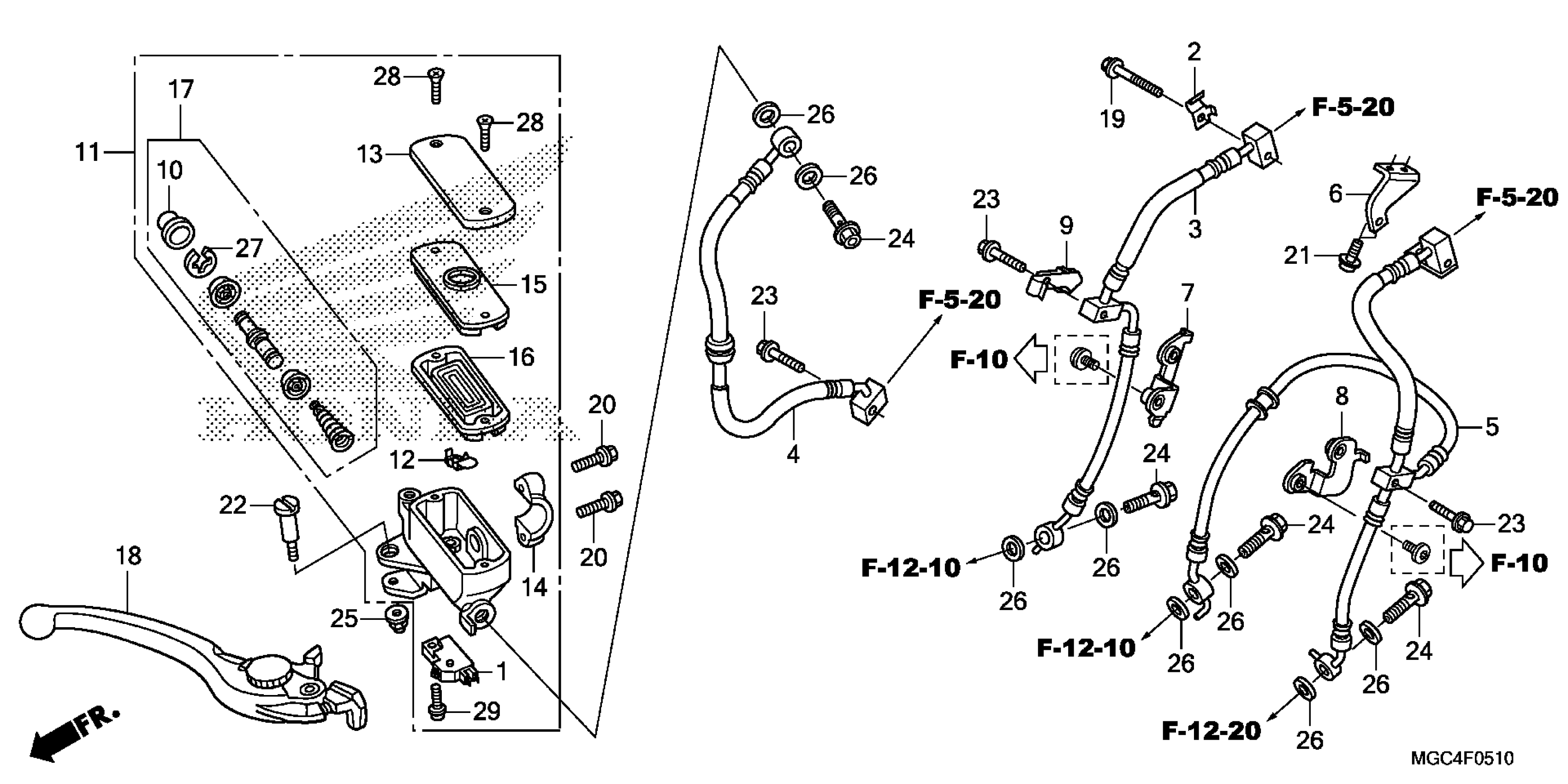
FRONT BRAKE MASTER CYLINDER (2)
Honda CB1100AAC (13) MOTORCYCLE, JPN, VIN# JH2SC655-DK000001 FRONT BRAKE MASTER CYLINDER (2) Diagram
#
Description
Price
