- Partiron
- OEM Parts
- Honda
- MOTORCYCLE
- 2012
- CB1000RAC (12) MOTORCYCLE, ITA, VIN# ZDCSC601-CF205001 TO ZDCSC601-CF205999
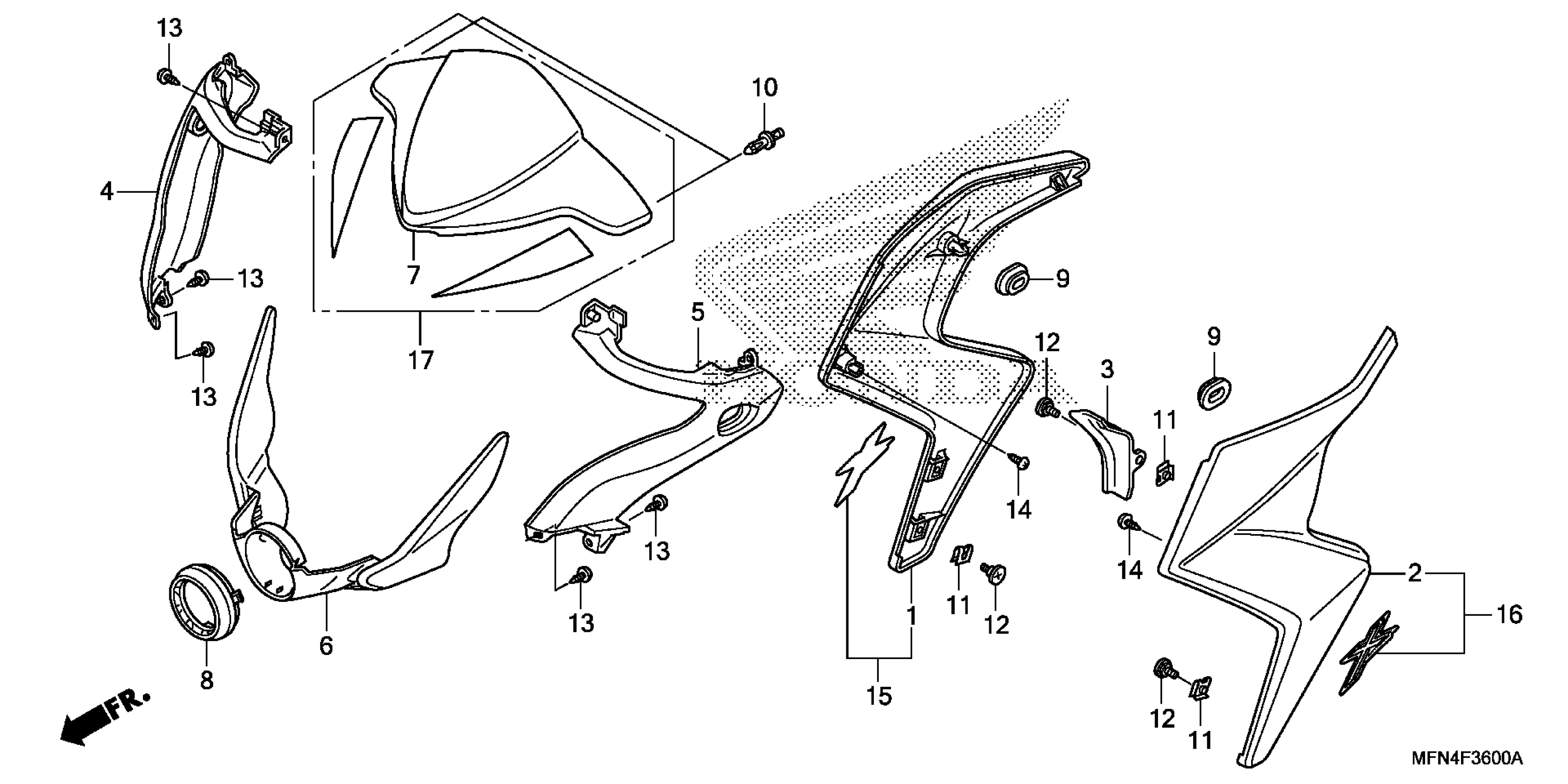
COWL
Honda CB1000RAC (12) MOTORCYCLE, ITA, VIN# ZDCSC601-CF205001 TO ZDCSC601-CF205999 COWL Diagram
#
Description
Price
1
SHROUD, R. RADIATOR *NH312M* (CYNOS GRAY METALLIC) | Cynos gray metallic NH312M;
19220-MFN-L60ZB
$77.77
2
SHROUD, L. RADIATOR *NH312M* (CYNOS GRAY METALLIC) | Cynos gray metallic NH312M;
19230-MFN-L60ZB
$77.59
4
COVER, R. HEADLIGHT *NH312M* (CYNOS GRAY METALLIC) | Cynos gray metallic NH312M;
64211-MFN-D00ZA
$81.90
5
COVER, L. HEADLIGHT *NH312M* (CYNOS GRAY METALLIC) | Cynos gray metallic NH312M;
64212-MFN-D00ZA
$77.36
6
COVER, HEADLIGHT (LOWER) *NH437M* (MAT RAY SILVER) | Cynos gray metallic NH312M;
64213-MFN-D00ZA
$83.18
