- Partiron
- OEM Parts
- Honda
- MOTORCYCLE
- 2022
- CB1000RA3AC (22) MOTORCYCLE, JPN, VIN# JH2SC801-NK400001 TO JH2SC801-NK499999
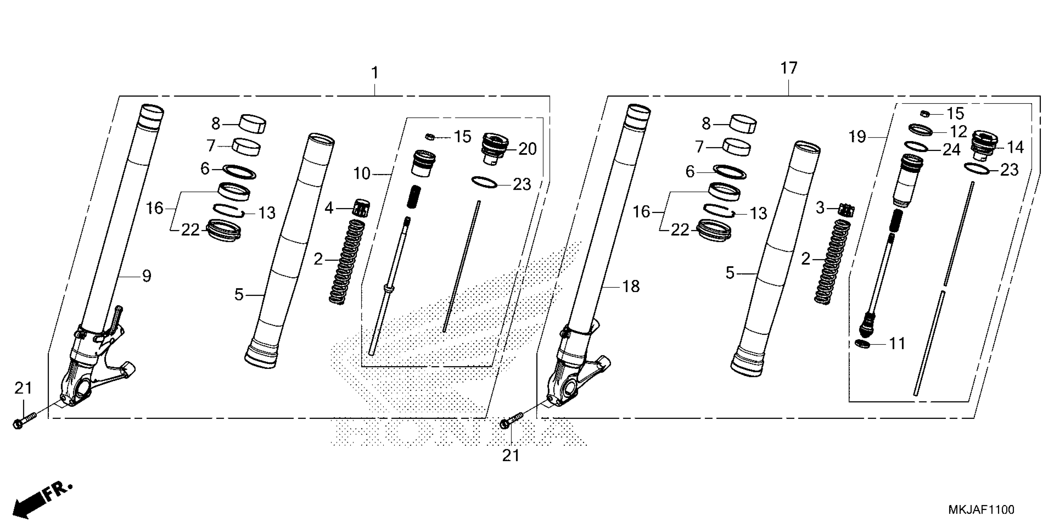
FRONT FORK
Honda CB1000RA3AC (22) MOTORCYCLE, JPN, VIN# JH2SC801-NK400001 TO JH2SC801-NK499999 FRONT FORK Diagram
#
Description
Price
