- Partiron
- OEM Parts
- Polaris
- Motorcycle
- VIC
- 2006
- CA KINGPIN ALL OPTIONS - V06CB26
ENGINE, EXHAUST SYSTEM (If built after 8/2/05) - V06CB26 ALL OPTIONS (4999203389920338C04)
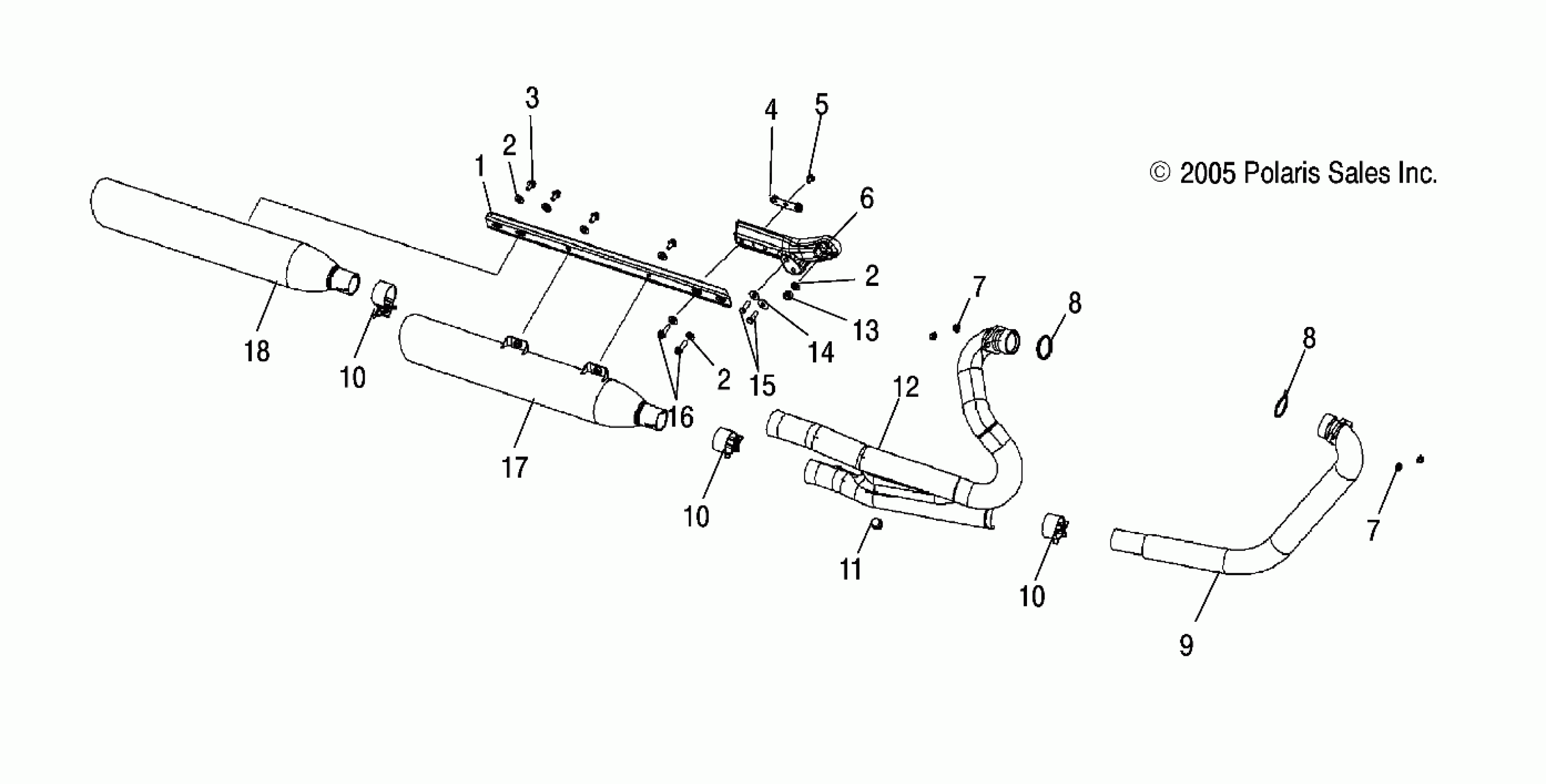
Polaris CA KINGPIN ALL OPTIONS - V06CB26 ENGINE, EXHAUST SYSTEM (If built after 8/2/05) - V06CB26 ALL OPTIONS (4999203389920338C04) Diagram
#
Description
Price
1
Bracket, Muffler To Muffler
5248768
Unavailable
3
SCREW
7518043
Unavailable
4
PLATE, NUT, ZINC
1015173
Unavailable
5
SCREW
7518393
Unavailable
6
Support, Exhaust
5631652-472
Unavailable
7
NUT
7546805
Unavailable
7
NUT
7546805
Unavailable
8
GASKET
5246008
Unavailable
8
GASKET
5246008
Unavailable
9
CLAMP, HEAT SHIELD
7080774
Unavailable
10
CLAMP
7081179
Unavailable
10
CLAMP
7081179
Unavailable
10
CLAMP
7081179
Unavailable
12
CLAMP
7080774
Unavailable
12
Shield Rear Cyl., Lower
1261417
Unavailable
14
WASHER, FLAT
7556352
Unavailable
15
SCREW
7518443
Unavailable
17
Asm., Muffler, Front
1261640
Unavailable
