- Partiron
- OEM Parts
- Honda
- MOTORCYCLE
- 1983
- C70A (83) PASSPORT, JPN, VIN# JH2DA010-DS300004 TO JH2DA010-DS308543
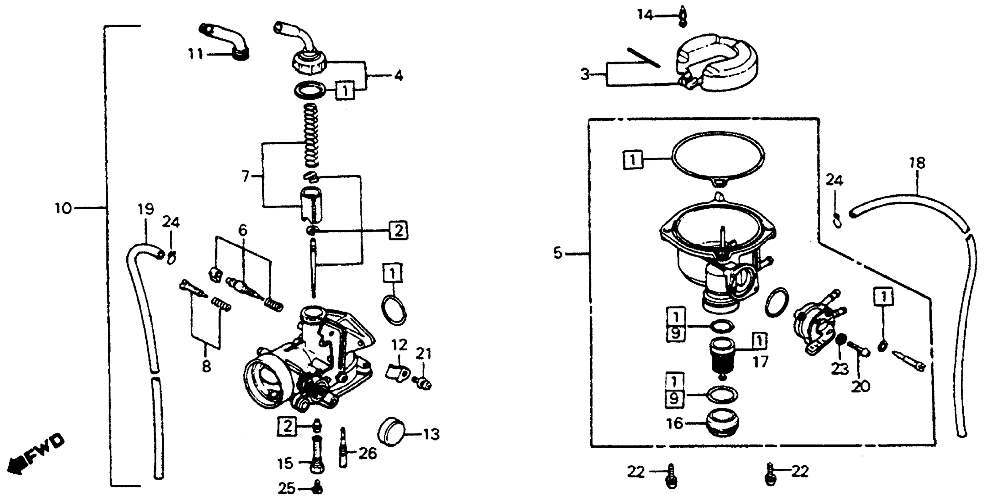
CARBURETOR
Honda C70A (83) PASSPORT, JPN, VIN# JH2DA010-DS300004 TO JH2DA010-DS308543 CARBURETOR Diagram
#
Description
Price
2
NEEDLE SET, JET (NOT AVAILABLE)
16012-GB5-671
Unavailable
4
TOP SET This part replaces 16014-GB4-003.
16014-GJ8-004
Unavailable
4
TOP SET
16014-GJ8-004
Unavailable
5
CHAMBER SET,FLOAT This part replaces 16015-GB4-013.
16015-GAC-010
Unavailable
5
CHAMBER SET,FLOAT This part replaces 16015-GB4-023.
16015-GAC-010
Unavailable
5
CHAMBER SET,FLOAT This part replaces 16015-GB4-033.
16015-GAC-010
Unavailable
5
CHAMBER SET,FLOAT This part replaces 16015-GB4-043.
16015-GAC-010
Unavailable
6
SCREW SET, A
16016-GB5-305
Unavailable
6
SCREW SET, A This part replaces 16016-GB5-671.
16016-GB5-305
Unavailable
7
VALVE SET, THROTTLE (NOT AVAILABLE)
16022-GB5-671
Unavailable
9
GASKET B SET
16040-GB0-911
Unavailable
10
CARBURETOR ASSY. (NOT AVAILABLE)
16100-GB5-671
Unavailable
12
STAY, CHOKE WIRE (NOT AVAILABLE)
16133-GB4-003
Unavailable
15
HOLDER, NEEDLE JET (NOT AVAILABLE)
16165-GB5-003
Unavailable
18
TUBE, AIR VENT This part replaces 16199-GB4-003.
16199-943-003
Unavailable
18
TUBE, AIR VENT
16199-943-003
Unavailable
25
JET, MAIN (#75) This part replaces 99101-116-0750.
99102-GHB-0750
Unavailable
26
JET, SLOW (#35)
99103-174-0350
Unavailable
