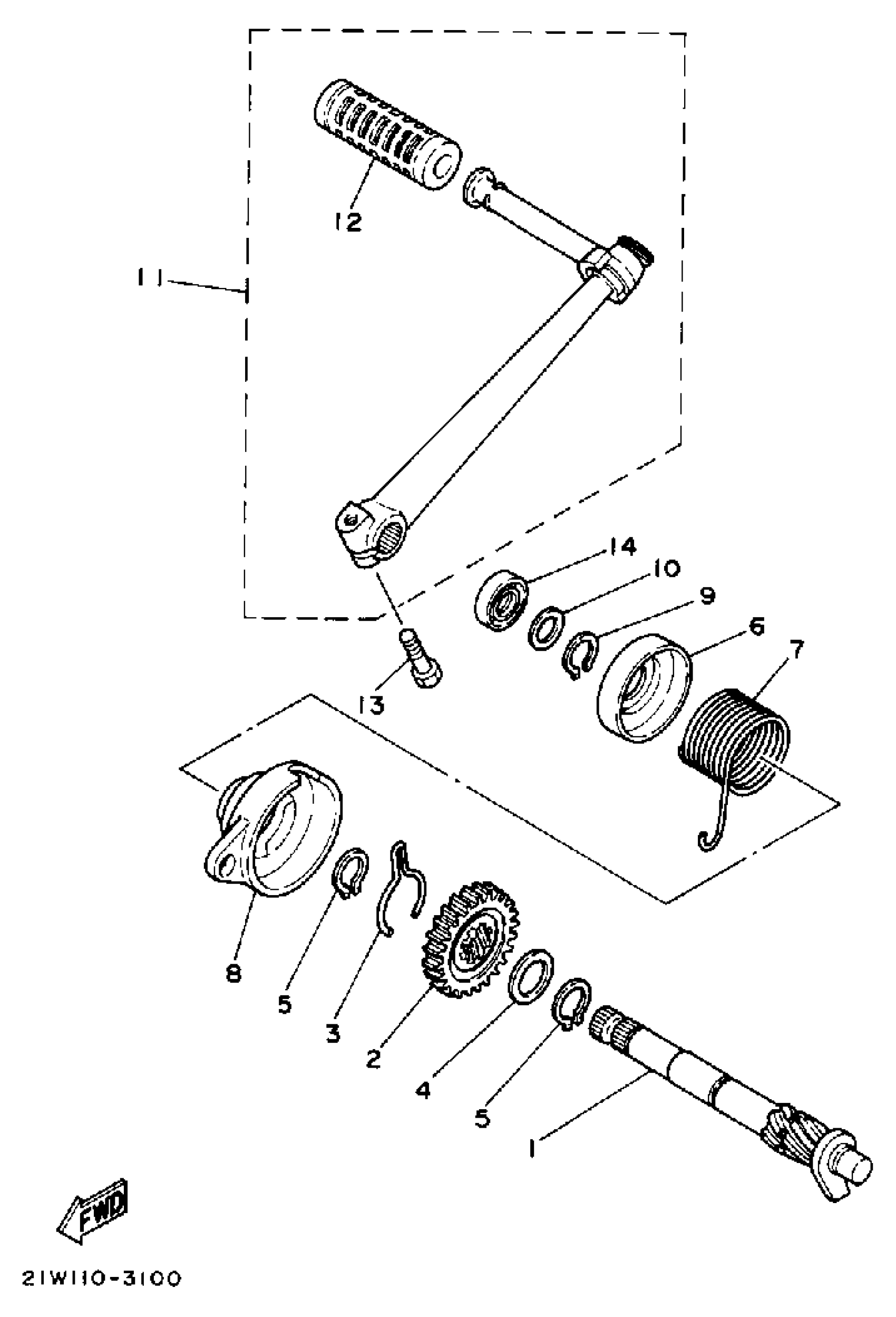
Yamaha BW80S (BIG WHEEL) 1986 STARTER Diagram
#
Description
Price
1
KICK AXLE ASSY
3E5-15660-00-00
Unavailable
2
GEAR, KICK (21T)
3E5-15641-00-00
Unavailable
6
COVER, SPRING
3E5-15676-00-00
Unavailable
7
SPRING TORSION 304156650000
90508-26136-00
Unavailable
8
GUIDE, SPRING
4BC-15664-00-00
Unavailable
11
KICK CRANK ASSY
4BC-15620-00-00
Unavailable
