- Partiron
- OEM Parts
- Yamaha
- motorcycle
- 1990
- BW80A (BIG WHEEL) 1990
CARBURETOR
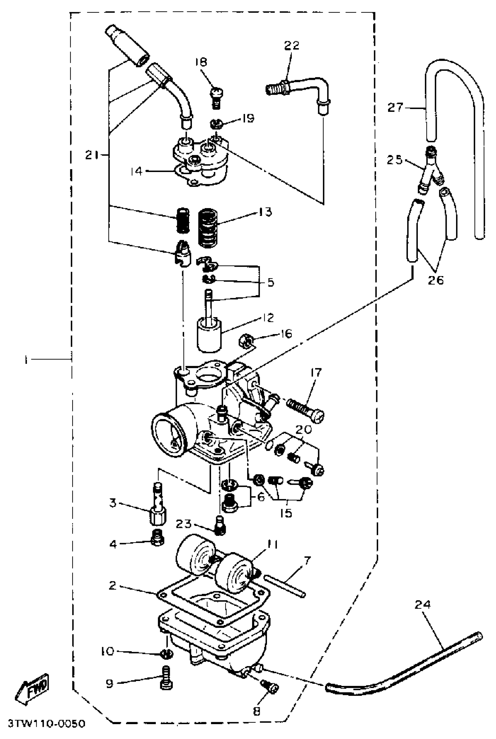
Yamaha BW80A (BIG WHEEL) 1990 CARBURETOR Diagram
#
Description
Price
1
CARBURETOR ASSY 1
1RY-14101-02-00
Unavailable
3
. NOZZLE, MAIN
1AJ-14141-78-00
Unavailable
4
JET, MAIN (#87.5)
(18A-14143-68-00)
Unavailable
5
. NEEDLE, SET
18E-1490J-00-00
Unavailable
6
NEEDLE VALVE SET
21W-14107-12-00
Unavailable
12
. VALVE, THROTTLE 1
45V-14112-30-00
Unavailable
13
SPRING, THROTTLE VALVE
296-14131-00-00
Unavailable
16
NUT, HEXAGON (663)
95380-05600-00
Unavailable
17
SCREW, PAN HEAD
98517-05030-00
Unavailable
18
SCREW, PAN HEAD (E56)
98580-04010-00
Unavailable
20
THROTTLE SCREW SET
18A-14103-00-00
Unavailable
21
. STARTER SET
1RY-1410A-00-00
Unavailable
22
NUT, CABLE ADJUSTING
522-14161-00-00
Unavailable
23
JET, PILOT (# 20)
193-14142-20-00
Unavailable
24
HOSE (L200)
90445-05N13-00
Unavailable
25
WAY 3 (45V)
90413-05015-00
Unavailable
26
UNAVAILABLE IN PRICE BOOK
90450-70A70-0
Unavailable
27
HOSE (L1050)
90445-072G8-00
Unavailable
