- Partiron
- OEM Parts
- Yamaha
- motorcycle
- 1986
- BW200S (BIG WHEEL) 1986
CARBURETOR
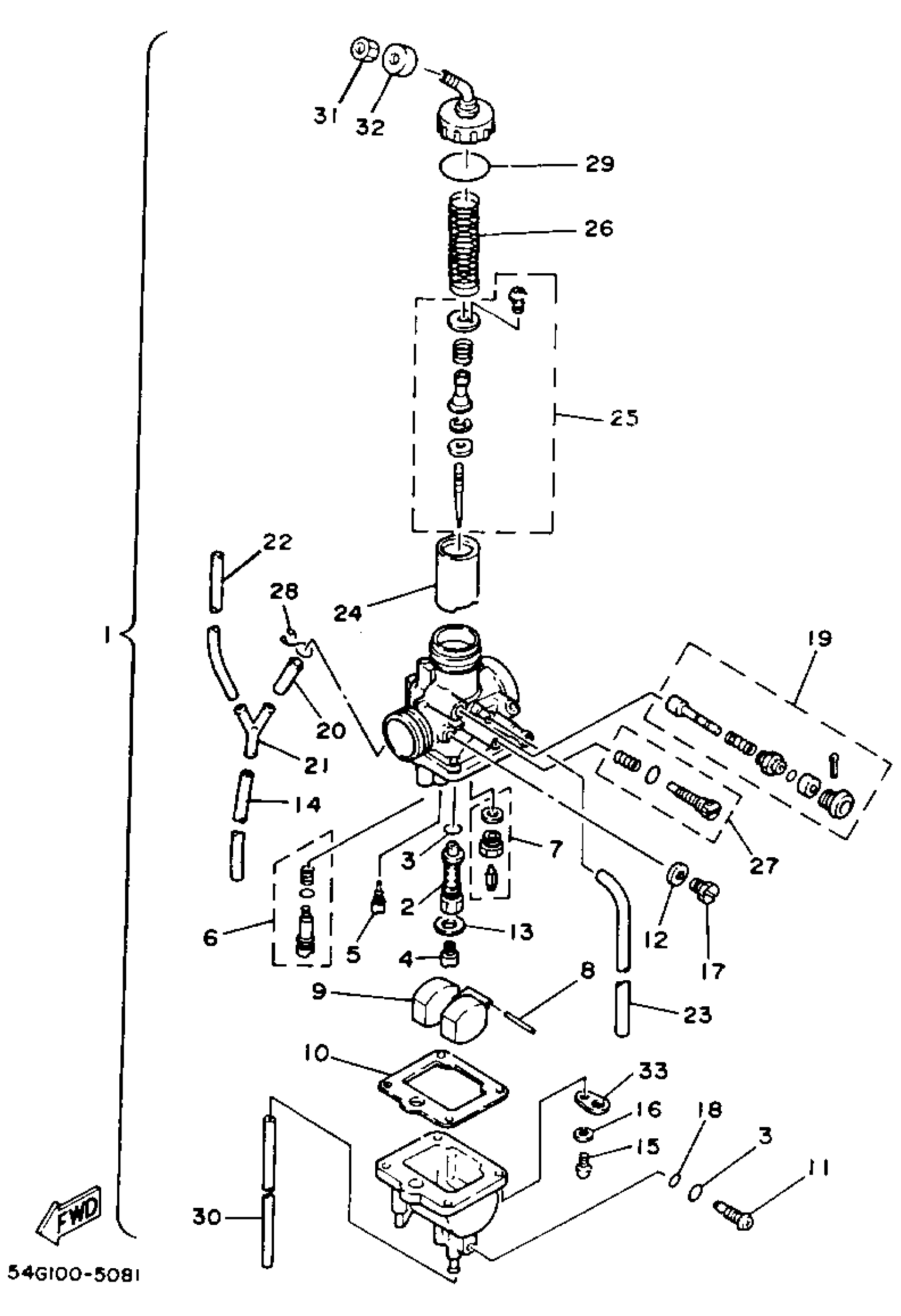
Yamaha BW200S (BIG WHEEL) 1986 CARBURETOR Diagram
#
1
CARBURETOR ASY 1
54G-14301-03-00
Unavailable
2
. NOZZLE, MAIN
54G-14341-00-00
Unavailable
5
. JET, PILOT #40 (#040)
5H0-14342-20-00
Unavailable
7
. VALVE SEAT SET
47J-W1496-00-00
Unavailable
8
. PIN, FLOAT
647-14386-10-00
Unavailable
9
. FLOAT
54G-14385-00-00
Unavailable
10
GASKET, FLOAT CHAMBER
5H0-14384-00-00
Unavailable
11
. PLUG, SCREW
47J-14115-00-00
Unavailable
14
PIPE
(51Y-14197-00-00)
Unavailable
16
YBS67-4 WASHER, SPRING
92990-04100-00
Unavailable
17
SCREW
5H0-14991-00-00
Unavailable
18
O-RING
5H0-14397-00-00
Unavailable
19
. PLUNGER, STARTER
54G-14371-01-00
Unavailable
20
PIPE
56R-14196-00-00
Unavailable
21
WAY 3 (73A)
90413-05013-00
Unavailable
22
PIPE
5Y1-14197-00-00
Unavailable
23
. PIPE 1
5H0-14348-00-00
Unavailable
24
. VALVE, THROTTLE 1
15E-14312-30-00
Unavailable
25
. NEEDLE SET
54G-1490J-00-00
Unavailable
26
SPRING,THRTL VALVE
15E-14331-00-00
Unavailable
27
THROTTLE SCREW SET
4WP-14103-00-00
Unavailable
28
CLIP
(54G-14159-00-00)
Unavailable
29
. O-RING
1J2-14147-00-00
Unavailable
30
. PIPE
36F-14396-00-00
Unavailable
31
NUT, CABLE ADJUSTING
85L-14161-00-00
Unavailable
32
. CAP
15A-14118-00-00
Unavailable
33
PLATE
5Y1-14146-00-00
Unavailable
