- Partiron
- OEM Parts
- Yamaha
- motorcycle
- 1985
- BW200N (BIG WHEEL) 1985
CARBURETOR
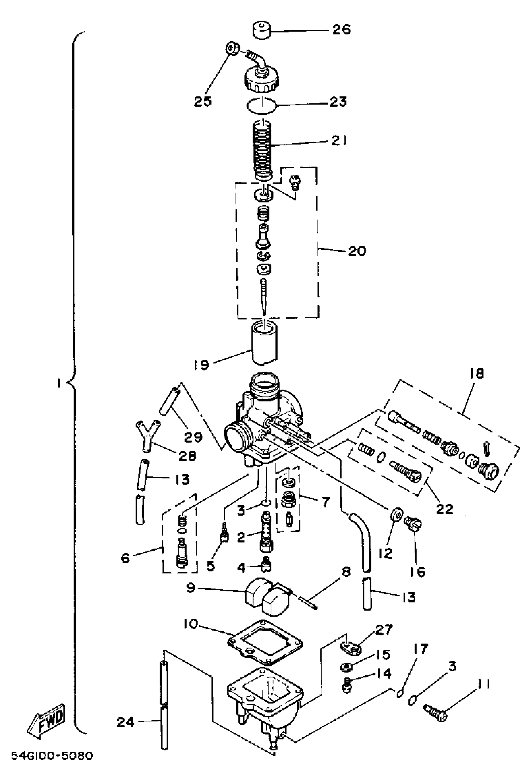
Yamaha BW200N (BIG WHEEL) 1985 CARBURETOR Diagram
#
Description
Price
1
CARBURETOR ASY 1
54G-14301-03-00
Unavailable
2
. NOZZLE, MAIN
54G-14341-00-00
Unavailable
5
. JET, PILOT #40 (#040)
5H0-14342-20-00
Unavailable
8
. PIN, FLOAT
647-14386-10-00
Unavailable
9
. FLOAT
54G-14385-00-00
Unavailable
10
GASKET, FLOAT CHAMBER
5H0-14384-00-00
Unavailable
11
. PLUG, SCREW
47J-14115-00-00
Unavailable
13
. PIPE 1
5H0-14348-00-00
Unavailable
16
SCREW
5H0-14991-00-00
Unavailable
17
O-RING
5H0-14397-00-00
Unavailable
18
PLUNGER, STARTER
15A-14371-01-00
Unavailable
19
. VALVE, THROTTLE 1
15E-14312-30-00
Unavailable
20
. NEEDLE SET
54G-1490J-00-00
Unavailable
21
SPRING,THRTL VALVE
15E-14331-00-00
Unavailable
22
THROTTLE SCREW SET
4WP-14103-00-00
Unavailable
23
. O-RING
1J2-14147-00-00
Unavailable
24
. PIPE
36F-14396-00-00
Unavailable
25
NUT, CABLE ADJUSTING
85L-14161-00-00
Unavailable
26
. CAP
15A-14118-00-00
Unavailable
27
PLATE
5Y1-14146-00-00
Unavailable
28
WAY 3 (73A)
90413-05013-00
Unavailable
29
. PIPE 1
5H0-14348-00-00
Unavailable
