Partiron

Yamaha BW200EU (BIG WHEEL ELEC START) 1988 SHIFT SHAFT Diagram

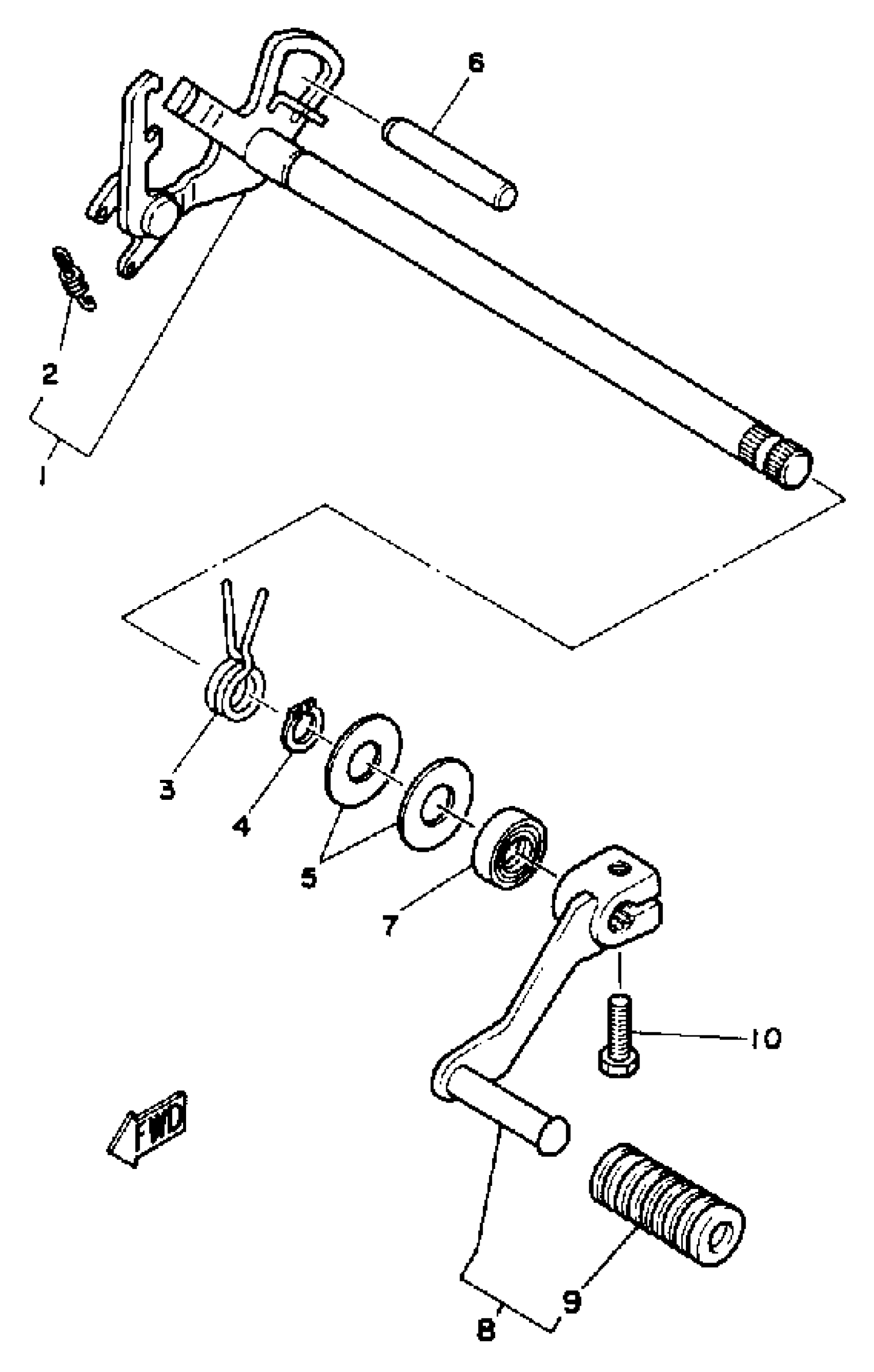
#

Description
Price

1

SHIFT LEVER ASSY

5H0-18120-02-00

$108.99

2

SPRING, TENSION (4H7)

90506-08227-00

$4.19

3

SPRING, TORSION (15A)

90508-29540-00

$7.49

4

CIRCLIP

99006-10600-00

$9.49

5

WASHER

90201-12588-00

$7.49

6

PIN, DOWEL (4H7)

93608-50158-00

$8.49

7

SEAL, OIL (30X)

93102-12321-00

$12.49

8

SHIFT PEDAL ASSY

1RL-18110-00-00

$27.99

9

COVER, CHANGE PEDAL

132-18113-01-00

$7.99

10

BOLT, HEXAGON

97017-06020-00

$4.06