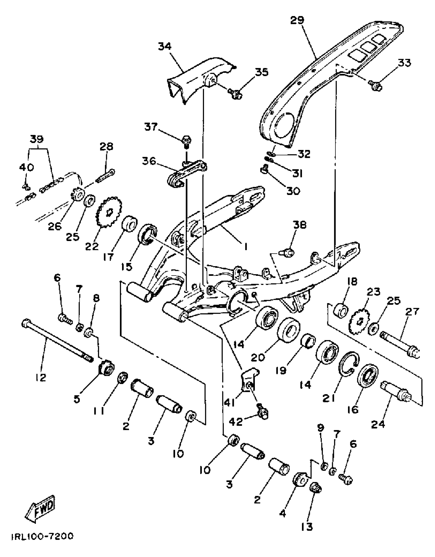
Yamaha BW200ET (BIG WHEEL ELEC START) 1987 SWING ARM Diagram
#
1
REAR ARM
54G-22110-01-FH
Unavailable
2
BUSH, SOLID 54G
90381-21058-00
Unavailable
3
COLLAR, DISTANCE
54G-22126-01-00
Unavailable
4
COVER, THRUST 1
54G-22128-01-00
Unavailable
5
COVER, THRUST 2
54G-22129-00-00
Unavailable
9
WASHER 6464337400
90201-06040-00
Unavailable
11
SHIM
54G-22127-00-00
Unavailable
12
SHAFT, PIVOT
1E2-22141-00-00
Unavailable
14
BEARING (8R9)
93306-30536-00
Unavailable
15
OIL SEAL, S-TYPE
93101-42018-00
Unavailable
16
OIL SEAL (35X62X6-371)
93102-35109-00
Unavailable
17
COLLAR 54G
90387-202L8-00
Unavailable
18
COLLAR 54G
90387-202L7-00
Unavailable
19
COLLAR
90387-257N4-00
Unavailable
20
RUBBER
54G-2212A-00-00
Unavailable
21
CIRCLIP(MF1)
99009-62500-00
Unavailable
22
SPROCKET,DRIVE 16T(54G1746160)
93852-16107-00
Unavailable
23
SPROCKET, DRIVE 14 (1G81746140)
93832-14044-00
Unavailable
24
SHAFT, PIVOT 2
54G-2214H-01-00
Unavailable
25
WASHER, PLATE
90201-10144-00
Unavailable
26
NUT,CASTLE
90171-10049-00
Unavailable
27
BOLT, WASHER BASED
90105-10372-00
Unavailable
28
PIN, COTTER(6L5)
91490-25030-00
Unavailable
29
CHAIN CASE ASSY
54G-22310-00-00
Unavailable
32
WASHER(6TA)
92907-06600-00
Unavailable
33
SCREW, PANHEAD W/WASHER (22F)
90159-06082-00
Unavailable
34
CASE, CHAIN 2
54G-22312-00-00
Unavailable
35
SCREW, PANHEAD W/WASHER (22F)
90159-06082-00
Unavailable
36
SEAL, GUARD
54G-22151-00-00
Unavailable
37
BOLT, WITH WASHER
90119-06242-00
Unavailable
38
NIPPLE, GREASE
93700-06M03-00
Unavailable
39
CHAIN(1RL)
94581-34042-00
Unavailable
40
. JOINT, CHAIN
94681-34011-00
Unavailable
41
PROTECTOR, CHAIN
54G-22147-00-00
Unavailable
42
BOLT, WITH WASHER (10V)
90119-06063-00
Unavailable
