Partiron

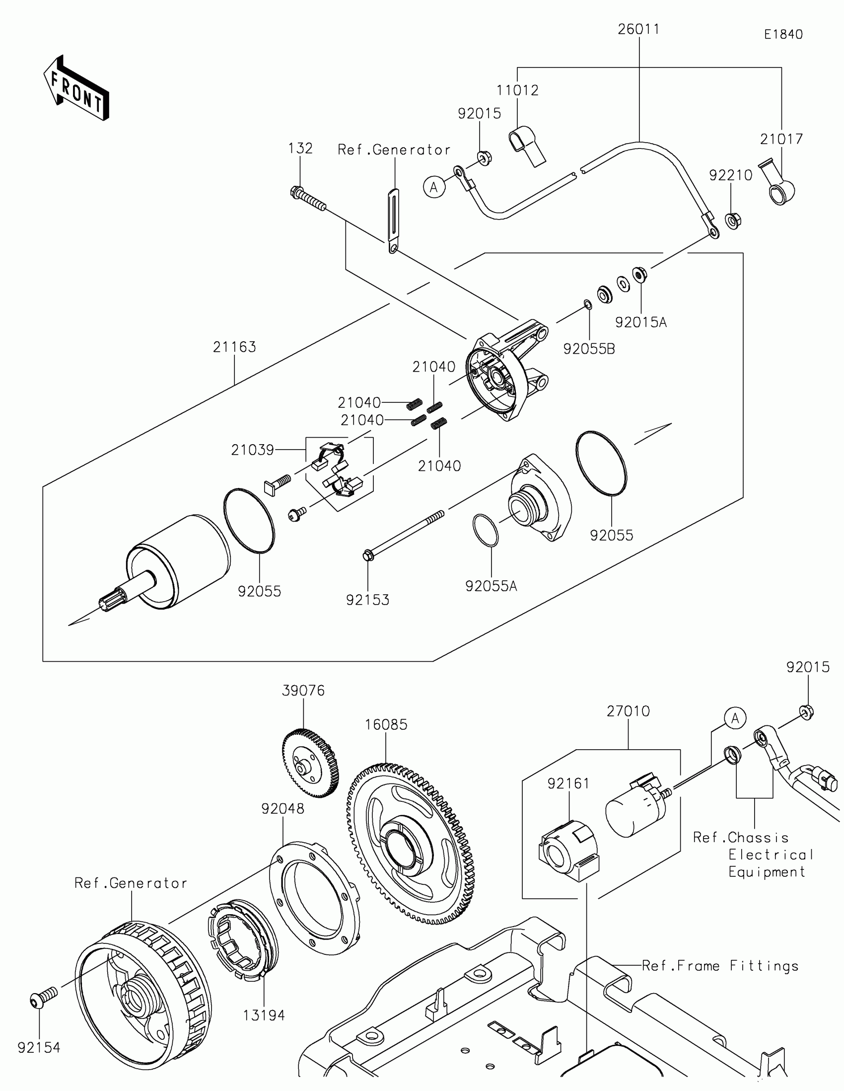
Kawasaki BRUTE FORCE® 750 LE EPS Starter Motor Diagram

#

Description
Price

11012

CAP,TERMINAL

11012-1354

$10.19

13194

CLUTCH-ONEWAY

13194-1094

$126.13

16085

GEAR,STARTER

16085-0597

$153.19

21017

GROMMET,STARTER TERMINAL

21017-017

$9.43

21039

BRUSH,CARBON

21039-0004

$117.72

21040

SPRING-BRUSH

21040-0003

$9.79

21163

STARTER-ELECTRIC

21163-0037

$746.53

26011

WIRE-LEAD

26011-0719

$33.54

27010

SWITCH,MAGNETIC

27010-0766

$127.72

39076

LIMITER,STARTER

39076-0005

$242.50

92015

NUT,FLANGED,6MM

92015-1367

$3.69

92015A

NUT,STARTER MOTOR

92015-1476

$4.31

92048

RACE,ONE WAY CLUTCH

92048-0002

$108.96

92055

RING-O

92055-0136

$7.75

92055A

RING-O

92055-1276

$9.91

92055B

RING-O,4.5X2.0

92055-1370

$4.69

92153

BOLT

92153-1850

$11.93

92154

BOLT,TORX,8X20

92154-0421

$4.72

92161

DAMPER,MAGNETIC SWITCH

92161-1722

$19.64

92210

NUT,6MM

92210-0188

$2.15

132

BOLT-FLANGED-SMALL,6X30

132BA0630

$2.65